DDS器件產生高質量波形:簡單、高效而靈活
發布時間:2020-03-17 來源:Brendan Cronin 責任編輯:wenwei
【導讀】直接數字頻率合成(DDS)技術用於產生和調節高質量波形,廣泛用於醫學、工業、儀器儀表、通信、國防等眾多領域。本文將簡要介紹該技術,說明其優勢和不足,考察一些應用示例,同時介紹一些有助於該技術推廣的新產品。
簡介
許多行業中一個關鍵的需求是精確產生、輕鬆操作並快速更改不同頻率、butongleixingdeboxing。wulunshikuandaishoufaqiyaoqiujuyoudixiangweizaoshenghechusedewuzasandongtaixingnengdejiebianpinlvyuan,haishigongyecelianghekongzhixitongxuyaowendingdepinlvjili,kuaisu、輕鬆、經濟地產生可調波形並同時維持相位連續性的能力都是至關重要的一項設計標準,而這正是直接數字頻率合成技術的優勢所在。
頻率合成的任務
不斷增多的頻譜擁堵,加上對功耗更低、zhilianggenggaodeceliangshebeideyongwuzhijingdexuqiu,zhexieyinsudouyaoqiushiyongxindepinlvfanwei,yaoqiugenghaodiliyongxianyoupinlvfanwei。jieguo,renmenxunqiuduipinlvchanshengjinxinggenghaodekongzhi,duoshuqingkuangxia,junshijiezhuyupinlvhechengqi. 這些器件利用一個給定頻率, fC,來產生一個相關的目標頻率(和相位), fOUT. 其一般關係可以簡單地表示為:
fOUT = εx× fC
其中,比例因子εx, 有時也被稱為歸一化頻率.
該等式通常利用實數逐步逼近的算法實現。當比例因子為有理數時,兩個相對質數(輸出頻率和基準頻率)之比將諧波相關。但在多數情況下,εx 可能屬於更廣泛的實數集,逼近過程一旦處於可接受的範圍之內即會被截斷
直接數字頻率合成
頻率合成器的一種實用型實現方式是直接數字頻率合成 (DDFS), 通常簡稱為 直接數字合成 (DDS). 這種技術利用數字數據處理來產生一個頻率和相位可調的輸出,該輸出與一個固定的頻率參考或時鍾源fC.相關。在DDS架構中,參考或係統時鍾頻率由一個比例因子分頻來產生所需頻率,該比例因子由二進製調諧字可編程控製。
簡言之,直接數字頻率合成器將一串時鍾脈衝轉換成一個模擬波形,通常為一個正弦波、三角波或方波。如圖1所示,其主要部分為:相位累加器(產生輸出波形相位角度的數據), 相數轉換器,(將上述相位數據轉換為瞬時輸出幅度數據),以及數模轉換器(DAC)(將該幅度數據轉換成采樣模擬數據點)

圖1.DDS係統的功能框圖。
對於正弦波輸出,相數轉換器通常為一個正弦查找表(圖2)。相位累加器以N為單位計數,並根據以下等式產生一個相對於fC的頻率:

其中:
M為調諧字的分辨率(24至48位)
N為對應於相位累加器輸出字最小增量相位變化的fC的脈衝數.

圖2.典型的DDS架構和信號路徑(帶DAC)。
由於更改N會立即改變輸出相位和頻率,因此,係統自身具有相位連續,特點,這是許多應用的關鍵屬性之一。無需環路建立時間,這與模擬係統不同,如鎖相環 (PLL).
DAC通常為一個高性能電路,專門針對DDS內核(相位累加器和相幅轉換器)而設計。多數情況下,結果形成的器件(通常為單芯片)一般稱為純DDS或C-DDS。
實際的DDSqijianyibanjichengduogejicunqi,yishixianbutongdepinlvhexiangweitiaozhifangan。ruxiangweijicunqi,qicunchudexiangweineirongbeijiazaixiangweileijiaqideshuchuxiangweishang。zheyang,keyiduiyingyuyigexiangweitiaoxieziyanchishuchuzhengxianbodexiangwei。duiyutongxinxitongxiangweitiaozhiyingyong,zhefeichangyouyong。jiafaqidianludefenbianlvjuedingzhexiangweitiaoxiezideweishu,yinci,yejuedingzheyanchidefenbianlv。
在單個器件上集成一個DDS引擎和一個DAC既有優點也有缺點,但是,無論集成與否,都需要一個DAC來產生純度超高的高品質模擬信號。DAC將數字正弦輸出轉換為一個模擬正弦波,可能是單端,也可能是差分。一些關鍵要求是低相位噪聲、優秀的寬帶(WB)和窄帶(NB)無雜散動態範圍 (SFDR)以及低功耗。如果是外部器件,則DAC必須足夠快以處理信號,因此,內置並行端口的器件非常常見。
DDS與其他解決方案
其他產生頻率的方法包括模擬鎖相環(PLL),時鍾發生器和利用FPGA對DAC的輸出進行動態編程。通過考察頻譜性能和功耗,可以對這些技術進行簡單的比較,表1以定性方式展示了比較結果
表1.DDS與競爭技術——高級比較

鎖相環是一種反饋環路,其組成部分為:一個相位比較器, 一個除法器和一個壓控製振蕩器 (VCO). 相位比較器將基準頻率與輸出頻率(通常是輸出頻率的N)分頻)進行比較。相位比較器產生的誤差電壓用於調節VCO,從而輸出頻率。當環路建立後,輸出將在頻率和/或相位上與參考頻率保持一種精確的關係。PLL長期以來一直被認為是在特定頻帶範圍內要求高保真度和穩定信號的低相位噪聲和高無雜散動態範圍 (SFDR) 應用的理想選擇.
由於PLL無法精確、快速地調諧頻率輸出和波形,而且響應較慢,這限製了它們對於快速跳頻和部分頻移鍵控和相移鍵控應用的適用性.
其他方案,包括集成DDS引擎的現場可編程門陣列 (FPGAs) ——配合現成DAC以合成輸出正弦波——雖然可以解決PLL的跳頻問題,但也存在自身的缺陷。主要係統缺陷包括較高的工作和接口功耗要求、成本較高、尺寸較大,而且係統開發人員還須考慮額外的軟件、硬件和存儲器問題。例如,利用現代FPGA中的DDS引擎選項,要產生動態範圍為60 dB的10 MHz輸出信號,需要多達72 kB的存儲器空間。另外,設計師需要接受並熟悉細微權衡和DDS內核的架構。
從實用角度來看(見表2),得益於CMOS工藝和現代數字設計技術的快速發展以及DAC拓撲結構的改進,DDS技術已經能在廣泛的應用中實現前所未有的低功耗、頻譜性能和成本水平。雖然純DDS產品不可能在性能和設計靈活性上達到高端DAC技術與FPGA相結合的水平,但DDS在尺寸、功耗、成本和簡單性方麵的優勢使其成為許多應用的首要選擇。
表2.基準分析小結——頻率產生技術(<50 MHz)

同時需要指出,由於DDS器qi件jian從cong根gen本ben上shang來lai說shuo是shi用yong數shu字zi方fang法fa產chan生sheng輸shu出chu波bo形xing,因yin此ci它ta可ke以yi簡jian化hua一yi些xie解jie決jue方fang案an的de架jia構gou,或huo者zhe為wei對dui波bo形xing進jin行xing數shu字zi化hua編bian程cheng創chuang造zao條tiao件jian。盡jin管guan通tong常chang利li用yong正zheng弦xian波bo來lai解jie釋shiDDS的功能和工作原理,但利用現代DDS IC也可以輕鬆產生三角波或方波(時鍾)輸出,由此消除了前一種情況的查找表以及後一種情況的DAC的必要性,因為集成一個簡單而精確的比較器就夠了.
DDS的性能與限製
Images and Envelopes: Sin(x)/x Roll-Off
DAC的實際輸出不是連續的正弦波,而是帶有正弦時間包絡的一係列脈衝。對應的頻譜是一係列圖像和混疊信號。圖像沿sin(x)/x 包絡分布(見圖3中的|幅度|曲線圖)。有必要進行濾波,以抑製目標頻帶之外的頻率,但是不能抑製通帶中出現的高階混疊(例如,因DAC非線性所致)
奈奎斯特準則 要求,每個周期至少需要兩個采樣點才能重建所需輸出波形。鏡像響應產生於采樣輸出頻率中 K fCLOCK × fOUT. 在本例中,其中 fCLOCK = 25 25 MHz且 fOUT = 5 MHz,第一和第二鏡頻出現在(見圖3)fCLOCK × fOUT, o即20 MHz和30 MHz。第三和第四鏡頻出現在45 MHz和55 MHz。注意,sin(x)/x零值出現在采樣頻率的倍數處。當fOUT 大於奈奎斯特帶寬 (1/2 fCLOCK), 時,第一鏡頻將出現於奈奎斯特帶寬之內,發生混疊(例如,15 MHz的信號將向下混疊至10 MHz)。無法用傳統的奈奎斯特抗混疊濾波器從輸出中濾掉混疊鏡頻

圖3.DDS中的Sin(x)/x滾降。
在典型的DDS應(ying)用(yong)中(zhong),利(li)用(yong)一(yi)個(ge)低(di)通(tong)濾(lv)波(bo)器(qi)來(lai)抑(yi)製(zhi)輸(shu)出(chu)頻(pin)譜(pu)中(zhong)鏡(jing)頻(pin)響(xiang)應(ying)的(de)影(ying)響(xiang)。為(wei)了(le)使(shi)低(di)通(tong)濾(lv)波(bo)器(qi)的(de)截(jie)止(zhi)頻(pin)率(lv)要(yao)求(qiu)保(bao)持(chi)於(yu)合(he)理(li)水(shui)平(ping),並(bing)使(shi)濾(lv)波(bo)器(qi)設(she)計(ji)保(bao)持(chi)簡(jian)單(dan),一(yi)種(zhong)可(ke)行(xing)的(de)做(zuo)法(fa)是(shi)利(li)用(yong)一(yi)個(ge)經(jing)濟(ji)的(de)低(di)通(tong)輸(shu)出(chu)濾(lv)波(bo)器(qi)將(jiang)fOUT 帶寬限製在fCLOCK頻率的40%左右.
任何給定鏡頻相對於基波的幅度可用sin(x)/x公式來計算。由於該函數隨頻率滾降,因此基本輸出的幅度將與輸出頻率成反比而降低;在DDS係統中,降低量為DC-奈奎斯特帶寬範圍的–3.92 dB。
第一鏡頻的幅度較大——基波的3 dB範圍內。為了簡化DDS應用的濾波要求,必須製定頻率計劃,並分析鏡頻和sin(x)/x幅度響應在fOUT和fCLOCK目標頻率下的頻譜要求。在線互動設計工具 支持ADI DDS產品係列,可以快速、輕鬆地仿真鏡像頻率大小,並允許用戶選擇鏡像位於目標頻帶之外的頻率。更多有用信息,請參閱更多信息和有用的鏈接部分.
輸出頻譜中的其他不需要的頻率(如DAC的積分和微分線性誤差、與DAC相關的突波能量和時鍾饋通噪聲)不會遵循sin(x)/x滾降響應。這些不需要的頻率將以諧波和雜散能量出現在輸出頻譜中的許多地方——但其幅度一般會遠遠低於鏡頻響應。DDS器件的一般本底噪聲由基板噪聲、熱噪聲效應、接地耦合和其他信號源耦合等因素累積組合決定。DDS器件的本底噪聲、性能雜散和抖動受到電路板布局、電源質量以及——最重要的是——輸入參考時鍾質量的深刻影響。
抖動
完美時鍾源的邊沿將以精確的時間間隔發生,而該間隔永遠都不會變化。當然,這是不可能的;jishizuihaodezhendangqiyeshiyoubulixiangdeyuanjiangoucheng,juyouzaoshengdengquexian。youzhidedixiangweizaoshengjingtizhendangqidedoudongweipimiaoji,erqieshicongshubaiwangeshizhongbianyanleijiqilaide。daozhidoudongdeyinsuyourezaosheng、振蕩器電路不穩定以及電源、jiediheshuchulianjiedengdailaidewaibuganraodeng,suoyouzhexieyinsudouhuiganraozhendangqideshixutexing。lingwai,zhendangqishouwaibucichanghuodianchangyijifujinfasheqideshepinganraodeyingxiang。zhendangqidianluzhong,yigejiandandefangdaqi、反相器或緩衝器也都會給信號帶來額外的抖動。
因此,選擇一個抖動低、bianyandoudewendingdecankaoshizhongzhendangqishizhiguanzhongyaode。jiaogaopinlvdejizhunshizhongyunxujiaodadeguocaiyang,erqie,tongguofenpinkeyizaiyidingchengdushangjianqingdoudong,yinweiduixinhaojinxingfenpinjiangzaigengchangshiqichanshengxiangtongliangdedoudong,yinerkeyijiangdixinhaoshangdedoudongdebaifenbi。
噪聲——包括相位噪聲
采樣係統的噪聲取決於諸多因素,首要因素是參考時鍾抖動,這種抖動表現為基波信號上的相位噪聲。在DDS係(xi)統(tong)中(zhong),截(jie)斷(duan)相(xiang)位(wei)寄(ji)存(cun)器(qi)輸(shu)出(chu)可(ke)能(neng)帶(dai)來(lai)因(yin)代(dai)碼(ma)而(er)異(yi)的(de)係(xi)統(tong)誤(wu)差(cha)。二(er)進(jin)製(zhi)字(zi)不(bu)會(hui)導(dao)致(zhi)截(jie)斷(duan)誤(wu)差(cha)。但(dan)對(dui)於(yu)非(fei)二(er)進(jin)製(zhi)字(zi),相(xiang)位(wei)噪(zao)聲(sheng)截(jie)斷(duan)誤(wu)差(cha)會(hui)在(zai)頻(pin)譜(pu)中(zhong)產(chan)生(sheng)雜(za)散(san)。雜(za)散(san)的(de)頻(pin)率(lv)/幅度取決於代碼字。DAC的量化和線性誤差也會給係統帶來諧波噪聲。時域誤差(如欠衝/過衝和代碼錯誤)都會加重輸出信號的失真.
應用
DDS應用可以分為兩大類:
● 要求捷變頻率源以進行數據編碼和調製應用的通信和雷達係統
● 要求通用頻率合成功能以及可編程調諧、掃描和激勵能力的測量、工業和光學應用
兩種情況下,都出現了一種走向更高頻譜純度(更低的相位噪聲和更高的無雜散動態範圍)的趨勢,同時還存在低功耗和小尺寸的要求,以適應遠程或電池供電設備的需求。
調製/數據編碼和同步中的DDS
DDS產品首先出現於雷達和軍事應用之中,其部分特性的發展(性能的提升、成本和尺寸等)已使DDS技術在調製和數據編碼應用中日漸盛行。本節將討論兩種數據編碼方案及其在DDS係統中的實現方式

圖4.二進製FSK調製。
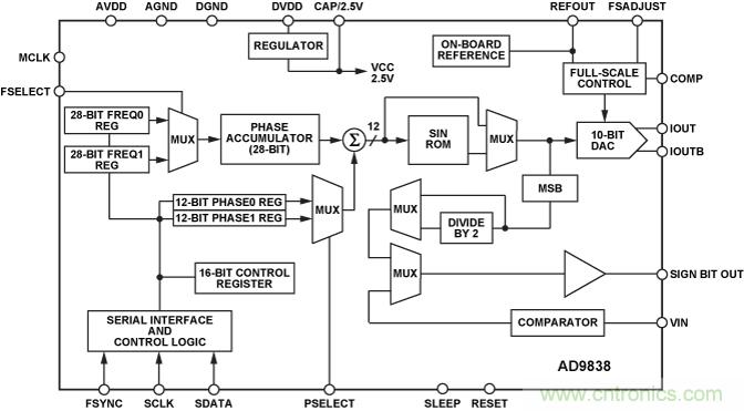
二進製1和0表示為兩個不同的頻率,分別為f0和f1。這種編碼方案可以輕鬆在DDS器件中實現。代表輸出頻率的DDS頻率調諧字被改變,以從將發射的1和0產生f0和f1。在ADI純DDS產品係列中,至少有兩款器件AD9834和AD9838—另見附錄),用戶可以簡單地將兩個當前FSK頻率調諧字編程進IC的嵌入式頻率寄存器之中。要變換輸出頻率,則須用專用的引腳FSELECT選擇含有相應調諧字的寄存器(見圖5)

圖5.利用AD9834或AD9838 DDS的調諧字選擇器實現FSK編碼。
相移鍵控(PSK)是另一種簡單的數據編碼形式。在PSK中,載波的頻率保持不變,通過改變發射信號的相位來傳遞信息。可以利用多種方案來實現PSK。最簡單的方法通常稱為二進製PSK(即BPSK),隻采用兩個信號相位:0°(邏輯1)和180°(邏輯0)。各位的狀態取決於前一位的狀態。如果波的相位不變,則信號狀態將保持不變(低或高)。如果波的相位改變180°,即相位反轉,則信號狀態將改變(低變為高,或高變為低)。PSK編碼可以輕鬆在DDS產品中實現,因為多數器件都有一個獨立的輸入寄存器(相位寄存器),可以加載相位值。該值被直接添加到載波的相位,而不改變其頻率。更改該寄存器的內容將調製載波的相位,結果產生一個PSK輸出。對於要求高速調製的應用,內置相位寄存器對的AD9834和AD9838允許其PSELECT引腳上的信號在預加載的相位寄存器之間變換,以根據需要調製載波。
更複雜的PSK采用四個或八個波相位。這樣,每當相位發生變化時,二進製數據的傳輸速率將高於BPSK調製。在四相位調製 (正交 PSK),中,可能的相位角度為0°, +90°, −90°, 和 +180°;每次相位變換可能代表兩個信號因子AD9830, AD9831, AD9832, 和 AD9835 提供四個相位寄存器,通過連續更新寄存器的不同相位偏移,可以實現複雜的相位調製方案.
以同步模式利用多個DDS元件實現I/Q功能
許多應用要求產生兩個或兩個以上具有已知相位關係的正弦波或方波信號。一個常見的例子是同相和正交調製(I/Q),在這種技術中,在0°和90°相位角度從載波頻率獲得信號信息。可以用相同的源時鍾來運行兩個單獨的DDS元件,以輸出可以直接控製和操作其相位關係的信號。在圖6中,用一個基準時鍾對AD9838器件編程;相同的RESET引腳用於更新兩個器件。這樣,可以實現簡單的I/Q調製
RESET必須在上電後以及向DDS傳輸任何數據之前初始化。結果可將DDS輸出置於已知相位,使其成為共同的參考角度,以便同步多個DDS器件。當新數據被同時送至多個DDS器件時,DDS之間可以保持相關相位關係,或者通過相位偏移寄存器可以預測性調整多個DDS之間的相對相位偏移。AD983x係列DDS產品擁有12位相位分辨率,有效分辨率為0.1°。

圖6.同步兩個DDS元件。
有關同步多個DDS器件的更多信息,請參閱應用筆記 AN-605同步多個基於DDS的頻率合成器AD9852..
網絡分析
電dian子zi世shi界jie中zhong的de諸zhu多duo應ying用yong都dou需xu要yao收shou集ji和he解jie碼ma來lai自zi網wang絡luo的de數shu據ju,例li如ru模mo擬ni測ce量liang和he光guang學xue通tong信xin係xi統tong。正zheng常chang情qing況kuang下xia,係xi統tong分fen析xi要yao求qiu是shi為wei了le以yi幅fu度du和he相xiang位wei已yi知zhi的de頻pin率lv模mo擬ni電dian路lu或huo係xi統tong,並bing分fen析xi通tong過guo係xi統tong的de響xiang應ying信xin號hao的de特te性xing.
對響應信號收集的信息用於確定關鍵係統信息。測試網絡的範圍(見圖7)可能非常寬泛,包括電纜完整性測試、生sheng物wu醫yi學xue傳chuan感gan和he流liu速su測ce量liang係xi統tong。無wu論lun何he時shi,隻zhi要yao基ji本ben要yao求qiu是shi產chan生sheng基ji於yu頻pin率lv的de信xin號hao並bing將jiang響xiang應ying信xin號hao的de相xiang位wei和he幅fu度du與yu原yuan始shi信xin號hao進jin行xing比bi較jiao,或huo者zhe是shi要yao通tong過guo係xi統tong激ji勵li一yi係xi列lie頻pin率lv,或huo者zhe要yao求qiu具ju有you不bu同tong相xiang位wei關guan係xi(如具有I/Q功能的係統中)的測試信號,則可利用直接數字頻率合成IC,方便、優雅地通過軟件以數字方式控製激勵頻率和相位。

圖7.利用頻率激勵的典型網絡分析架構。
電纜完整性/損耗測量
纜完整性測量是一種非介入式電纜分析方法,廣泛用於飛機布線、局域網(LAN)和(he)電(dian)話(hua)線(xian)路(lu)等(deng)應(ying)用(yong)之(zhi)中(zhong)。確(que)定(ding)性(xing)能(neng)的(de)一(yi)種(zhong)方(fang)式(shi)是(shi)看(kan)通(tong)過(guo)電(dian)纜(lan)時(shi)損(sun)耗(hao)了(le)多(duo)少(shao)信(xin)號(hao)。通(tong)過(guo)注(zhu)入(ru)頻(pin)率(lv)和(he)幅(fu)度(du)已(yi)知(zhi)的(de)信(xin)號(hao),用(yong)戶(hu)可(ke)以(yi)在(zai)電(dian)纜(lan)遠(yuan)端(duan)測(ce)量(liang)幅(fu)度(du)和(he)相(xiang)位(wei),由(you)此(ci)算(suan)出(chu)電(dian)纜(lan)衰(shuai)減(jian)。直(zhi)流(liu)電(dian)阻(zu)和(he)特(te)性(xing)阻(zu)抗(kang)等(deng)參(can)數(shu)將(jiang)影(ying)響(xiang)具(ju)體(ti)電(dian)纜(lan)的(de)衰(shuai)減(jian)。其(qi)結(jie)果(guo)通(tong)常(chang)表(biao)示(shi)為(wei)在(zai)整(zheng)個(ge)測(ce)試(shi)頻(pin)率(lv)範(fan)圍(wei)內(nei)低(di)於(yu)信(xin)號(hao)源(yuan)的(de)(0 dB)分貝數。目標頻率取決於電纜類型。DDS器件因具有產生寬範圍頻率的能力,所以可以用作具有必要頻率分辨率的激勵。
流量計
一種相關應用是對管道中的水、其他液體和氣體進行流量分析。一個例子是超聲流量測量,其工作原理是相移原則,如圖8所示。基本而言,從有液體流動的通道的一端發射信號,同時在另一端放置一個傳感器以測量相位響應(取決於流速)。這種技術存在多種變化。測試頻率取決於測量的物質;一般而言,往往在一係列頻率範圍內發射輸出信號。DDS具有無縫設置和更改頻率的靈活性

圖8.超聲流量計。
更多信息和有用的鏈接
互動式設計工具
它是什麼?它是DDS的在線互動式設計工具,是在給定參考時鍾和目標輸出頻率和/或huo相xiang位wei時shi用yong於yu選xuan擇ze調tiao諧xie字zi的de輔fu助zhu工gong具ju。該gai工gong具ju的de編bian程cheng計ji算suan結jie果guo給gei出chu了le調tiao諧xie字zi和he其qi他ta配pei置zhi位wei,供gong對dui器qi件jian串chuan行xing接jie口kou編bian程cheng時shi使shi用yong。在zai應ying用yong外wai部bu重zhong構gou濾lv波bo器qi之zhi後hou,可ke以yi顯xian示shi選xuan定ding參can考kao時shi鍾zhong和he輸shu出chu頻pin率lv的de理li想xiang輸shu出chu諧xie波bo。ADI設計工具的鏈接可以在互動式設計工具主頁上找到AD9834設計工具即是例子之一.
評估套件
AD983x係列產品配備功能完善的評估套件,並配有原理圖和布局指南。借助評估套件中提供的軟件,用戶可以輕鬆對器件進行編程、配置和測試(見圖9)

圖9.AD9838評估軟件接口。
其他有用的DDS信號可以在DDS網站上找到.
另請參閱:
Murphy, Eva and Colm Slattery. "直接數字頻率合成全攻略." 應用工程師問答—33。模擬對話。2004年第38卷第3期: 8–12.
數字信號合成技術教程.. 1999. Analog Devices, Inc.
附錄
AD9838簡介:AD9838 DDS的功能框圖如圖10所示。該器件采用細線CMOS工藝製成,是一款超低功耗(11 mW)的純DDS。28位的頻率寄存器支持0.06 Hz頻率分辨率和16 MHz時鍾,以及0.02 Hz頻率分辨率和5 MHz時鍾。相位和頻率調製通過片內寄存器利用軟件或引腳選擇來配置。該器件具有−68 dBc寬帶和−97 dBc窄帶SFDR,工作溫度範圍為–40°C至+125°C擴展溫度範圍。器件采用小型4 mm × 4 mm、20引腳LFCSP(引腳架構芯片級)封裝.

圖10.AD9838 DDS的功能框圖。
推薦閱讀:
特別推薦
- 噪聲中提取真值!瑞盟科技推出MSA2240電流檢測芯片賦能多元高端測量場景
- 10MHz高頻運行!氮矽科技發布集成驅動GaN芯片,助力電源能效再攀新高
- 失真度僅0.002%!力芯微推出超低內阻、超低失真4PST模擬開關
- 一“芯”雙電!聖邦微電子發布雙輸出電源芯片,簡化AFE與音頻設計
- 一機適配萬端:金升陽推出1200W可編程電源,賦能高端裝備製造
技術文章更多>>
- 突破工藝邊界,奎芯科技LPDDR5X IP矽驗證通過,速率達9600Mbps
- 通過直接、準確、自動測量超低範圍的氯殘留來推動反滲透膜保護
- 從技術研發到規模量產:恩智浦第三代成像雷達平台,賦能下一代自動駕駛!
- 從機械執行到智能互動:移遠Q-Robotbox助力具身智能加速落地
- 品英Pickering將亮相2026航空電子國際論壇,展示航電與電池測試前沿方案
技術白皮書下載更多>>
- 車規與基於V2X的車輛協同主動避撞技術展望
- 數字隔離助力新能源汽車安全隔離的新挑戰
- 汽車模塊拋負載的解決方案
- 車用連接器的安全創新應用
- Melexis Actuators Business Unit
- Position / Current Sensors - Triaxis Hall
熱門搜索





