教你正確認識CMOS靜電和過壓問題
發布時間:2020-01-20 責任編輯:xueqi
【導讀】對於模擬CMOS(互補對稱金屬氧化物半導體)而言,兩大主要危害是靜電和過壓(信號電壓超過電源電壓)。了解這兩大危害,用戶便可以有效應對。
靜電
由靜電荷積累(V=q/C=1kV/nC/pF)而形成的靜電電壓帶來的危害可能擊穿柵極與襯底之間起絕緣作用的氧化物(或氮化物)薄層。這項危害在正常工作的電路中是很小的,因為柵極受片內齊納二極管保護,它可使電荷損耗至安全水平。
然而,在插人插座時,CMOSqijianyuchazuozhijiankenengcunzaidaliangjingdianhe。ruguocharenchazuodediyigeyinjiaoqiaqiaomeiyoulianjieqinaerjiguanbaohudianlu,zhajishangdedianhehuichuanguoyanghuacengshifangersunhuaiqijian。
以下四步有助於防止器件在係統裝配階段受損:
將未使用的CMOS器件存放於黑色導電泡沫材料中,這樣在運輸時可以防止引腳之間積累電荷;
負責器件接插的操作人員應通過一個塑料接地帶與係統電源地相連;
從防護性的泡沫材料中取出CMOS器件前,泡沫材料應與電源共地,釋放掉積累的電荷;
在電路插人電路板之後,移動電路板時應保持電路板接地或屏蔽。
SCR閂鎖
在使用模擬CMOSdianlushi,zuianquandezuofashiquebaomeiyouchaoguodianyuandianyademonihuoshuzidianyashijiadaoqijianshang,bingqiedianyuandianyazaiedingfanweinei。jinguanruci,shishichengshouguoyabaohuyeshiyoubiyaode。ruguolijielewentidejizhi,baohucuoshizaidaduoshuqingkuangxiadouhuishixingzhiyouxiaode。
圖1是一個典型CMOS輸出開關單元的電路圖及截麵圖。從不同單元和區域之間的連接關係中,我們可以畫出一個等效二極管電路圖(圖2)。如果在S端或D端的模擬輸人電壓超過電源電壓。

圖1:典型CMOS輸出開關單元的電路圖及截麵圖

圖2:等效二極管電路圖
由不同二極管結產生的寄生晶體管就會處於正向偏置模式。這些寄生的NPN和PNP晶體管形成如圖3所示的SCR(可控矽整流器)電路。

圖3:CMOS開關中的寄生晶體管益淪應
過壓能引起過大的電流和金屬化問題。通常,運算放大器的輸出作為S端或D端的電壓源,因此電流不能大於運算放大器直流輸出電流的限值。然而,瞬態感應電流仍有可能破壞CMOS器件;因此,有必要進行保護。
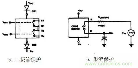
圖4舉例說明了通過在電源供電引腳串聯二極管(比如1N459)防止寄生晶體管導通的方法。如果S端或D端電壓高於電源電壓時,CR1和/或CR2反向偏置,基極驅動電路不能使晶體管導通。每個CMOS器件都應該有一對獨立的二極管對其進行保護。盡管這個方法很有效,但它不是萬無一失的。如果開關的一端連接到一個負電位(例如一個充電電容),並且另一端電壓超過VDD,則盡管有保護二極管。

圖4:電路保護方案
在Q2的一個發射極的雪崩二極管足夠提供基極驅動使Q2導通。對於這種情況,必須要有一個與電容串聯的限流電源或者電阻。
如果在S端或D端有瞬時過壓,那麼由電壓源供電的端口處的串聯電阻的建議值為300至400Ω(圖4b)。
特別推薦
- 噪聲中提取真值!瑞盟科技推出MSA2240電流檢測芯片賦能多元高端測量場景
- 10MHz高頻運行!氮矽科技發布集成驅動GaN芯片,助力電源能效再攀新高
- 失真度僅0.002%!力芯微推出超低內阻、超低失真4PST模擬開關
- 一“芯”雙電!聖邦微電子發布雙輸出電源芯片,簡化AFE與音頻設計
- 一機適配萬端:金升陽推出1200W可編程電源,賦能高端裝備製造
技術文章更多>>
- 邊緣AI的發展為更智能、更可持續的技術鋪平道路
- 每台智能體PC,都是AI時代的新入口
- IAR作為Qt Group獨立BU攜兩項重磅汽車電子應用開發方案首秀北京車展
- 構建具有網絡彈性的嵌入式係統:來自行業領袖的洞見
- 數字化的線性穩壓器
技術白皮書下載更多>>
- 車規與基於V2X的車輛協同主動避撞技術展望
- 數字隔離助力新能源汽車安全隔離的新挑戰
- 汽車模塊拋負載的解決方案
- 車用連接器的安全創新應用
- Melexis Actuators Business Unit
- Position / Current Sensors - Triaxis Hall
熱門搜索
SATA連接器
SD連接器
SII
SIM卡連接器
SMT設備
SMU
SOC
SPANSION
SRAM
SSD
ST
ST-ERICSSON
Sunlord
SynQor
s端子線
Taiyo Yuden
TDK-EPC
TD-SCDMA功放
TD-SCDMA基帶
TE
Tektronix
Thunderbolt
TI
TOREX
TTI
TVS
UPS電源
USB3.0
USB 3.0主控芯片
USB傳輸速度



