鋰電池及鋰聚合物電池保護電路的設計
發布時間:2011-09-08
中心議題:
- 鋰電池保護電路原理分析
- 鋰電池保護電路設計
- 鋰電池保護電路仿真結果及分析
解決方案:
- 檢測電路設計
- 偏置電路設計
- 延時電路、電平轉換電路及待機設計
1 引言
鋰電池產品在充放電過程中的過充電、過放電、放電過電流及其它異常狀態(例如負載短路),將(jiang)會(hui)導(dao)致(zhi)內(nei)部(bu)發(fa)熱(re),可(ke)能(neng)引(yin)起(qi)電(dian)池(chi)或(huo)其(qi)它(ta)器(qi)件(jian)的(de)損(sun)害(hai),嚴(yan)重(zhong)影(ying)響(xiang)到(dao)電(dian)池(chi)使(shi)用(yong)的(de)安(an)全(quan)性(xing)。因(yin)此(ci),鋰(li)電(dian)池(chi)產(chan)品(pin)保(bao)護(hu)電(dian)路(lu)的(de)設(she)計(ji)應(ying)用(yong)必(bi)不(bu)可(ke)少(shao)。本(ben)文(wen)基(ji)於(yu)標(biao)準(zhun)CMOS工藝,設計了一種全功能電池保護電路。通過過放電檢測輸出端、過充電檢測輸出端的CMOS輸出電平控製外接的兩個N溝道場效應開關晶體管的關斷,從而達到對電池實施保護的目的。具有高檢測電壓精度、低功耗、可靠性高等優點,可廣泛用於移動電話、筆記本電腦、PDA、MP3等產品中。
2 電池保護電路原理分析
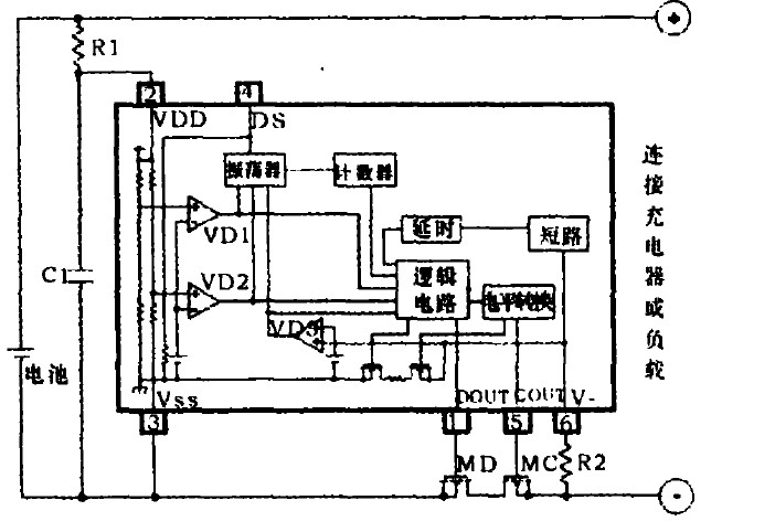
本論文所設計的電池保護電路應用示意圖如圖1所示。實線框內為電池保護電路的係統結構圖,框外為外圍器件連接示意圖。
圖1中,DOUT為過放電檢測的CMOS輸出,COUT為過充電檢測的CMOS輸出,VDD為電池電壓輸入,VSS為芯片接地引腳,DS為響應延遲時間縮短控製輸入端,V-為放電過流檢測端。
在充電時,若電池電壓高於過充電檢測電壓並保持相應的延遲時間,COUT端由高電位變為低電位,充電控製MOS管MC關斷,芯片進入過充電保護狀態,停止充電。
在放電時,若電池電壓低於過放電檢測電壓並保持相應的延遲時間,DOUT端由高電位變為低電位,放電控製MOS管MD關斷,芯片進入過放電保護模式,停止放電。

圖1 鋰離子/鋰聚合物電池保護電路芯片應用電路圖以及內部係統結構框圖
在放電時,芯片同時監控V-端電壓。當因電流過大引起V-端電壓高於放電過電流檢測電壓,而低於短路檢測電壓時,芯片進入放電過電流保護狀態;當V-端電壓高於短路檢測電壓時,芯片進入短路保護狀態。此時,DOUT端輸出由高電位變為低電位,關斷MD防止電路中通過強電流。
圖1中,R1和C1起到對外接充電器或與其並聯的二次電池的電壓波動進行平滑濾波抑製的作用。而電阻R1、R2為當對電池反向充電或充電器充電電壓超過芯片絕對極限額定充電電壓值時的限流電阻。
該係統中主要包括過充電檢測電路(VD1)、過放電檢測電路(VD2)、放電過電流檢測電路(VD3)和短路檢測電路、電平轉換電路、基準電路、振蕩電路以及偏置電路等。
3 電路設計
由於保護電路依靠電池來供應其電源電壓,為了不影響電池的待機時間,應盡可能設計低電源電壓、低功耗的電池保護電路。
[page]
3.1 檢測電路設計
由於檢測電路VD1、VD2、VD3原理類似,在此以過放電檢測電路(VD2)設計為例進行分析。為了滿足整個芯片功耗小的要求,可設計該電路處於亞閾值工作狀態,有效降低其工作電流及電壓。

圖2 過放電檢測電路
過放電檢測電路(VD2)可利用一個二級開環比較器來實現,如圖2所示。在設計中應采用差分輸入並盡可能地提高增益,以滿足精度要求。該電路中,第一級是由MN1,MN2,MP1,MP2,MN3,MN4組成的差分放大器。第二級是由MP5,MN5組zu成cheng的de單dan級ji放fang大da器qi。前qian級ji放fang大da器qi放fang大da輸shu入ru的de差cha模mo信xin號hao,後hou一yi級ji將jiang前qian級ji的de輸shu出chu進jin一yi步bu放fang大da,以yi達da到dao數shu字zi信xin號hao的de輸shu出chu電dian平ping。該gai比bi較jiao器qi電dian路lu的de直zhi流liu增zeng益yi為wei:

同時,還必須考慮諸如傳輸時延、輸出電壓擺率、shurugongmofanweidengxingneng。jianyudadepianzhidianliuhexiaodedianrongkeshibailvdedaogaishan,suoduanyanchishijian,yinciketongguojiadapianzhidianliuerdadaogaosu。danshi,yibaneryan,gaosubijiaoqiyehuiyoujiaogaodegonghao。yincizaishejishibixuzaigonghaoyusuduzhijianjinxingzhezhong。xiangduiyuchuyubaohequdebijiaoqieryan,gongzuozaiyayuzhiqudebijiaoqideyanchishijianxianzhezengchang,zhezhuyaoshiyouyugongzuozaiyayuzhiqudepianzhidianliujiaoxiao,dianrongchongfangdianxuyaogengchangdeshijian,congershideyanchishijianbianchang。gaibijiaoqijuyouyuchadongfangdaqileisideICMR(輸入共模範圍),其最低輸入電壓應小於過放電檢測基準電壓。
![]()
3.2 偏置電路設計
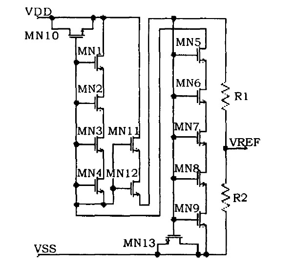
偏置電路用於為檢測電路提供穩定、高精度的基準電壓,從而檢測過充電、過放電、放電過電流等狀態。本論文中設計了一種低功耗基準電路,示於圖3。

圖3 低功耗基準電路[page]
基於耗盡型NMOS管閾值電壓為負值,在VGS=0時也處於工作狀態,該特性可有效降低其工作電壓及功耗。因而,該基準電路中利用串聯的耗盡型NMOS管MN1-MN4、串聯的增強型NMOS管MN5-MN9、MN11-MN12和電阻R1、R2構成基於VGS的基準電壓電路,該基準電路的輸出為檢測比較器反相端的基準電壓信號VREF。
由於本電路中耗盡管閾值電壓為負值,且柵源電壓恒為0,故耗盡型管始終工作在飽和區。且其電流值恒定為:

同時為滿足該電路低功耗的要求,應盡可能使電路中增強性管工作在亞閾值區。如圖3所示,基於襯偏效應和源極電位的升高,MN5管工作於亞閾值區。


即對於增強型NMOS管,VTH隨溫度升高而下降,而對於耗盡型NMOS管,VTH為負值,其絕對值隨溫度升高而上升。由此推得,當選取合適的參數時,本電路的溫度漂移可以控製在較小範圍內。
3.3 其餘部分設計
3.3.1 延時電路
為了防止幹擾信號使保護電路產生誤操作,係統針對不同的異常狀態,設置了相應的延遲時間。
該延遲時間是由振蕩電路以及計數器共同實現。
振zhen蕩dang電dian路lu采cai用yong三san級ji環huan形xing振zhen蕩dang器qi結jie構gou,其qi每mei一yi級ji由you一yi個ge反fan相xiang器qi和he一yi個ge電dian容rong構gou成cheng,該gai振zhen蕩dang電dian路lu正zheng常chang工gong作zuo時shi,向xiang計ji數shu器qi輸shu出chu振zhen蕩dang方fang波bo,不bu工gong作zuo時shi輸shu出chu高gao電dian平ping。
計數器由D觸發器級聯而成。
3.3.2 電平轉換電路
同時,為了保證充電控製管MC在過充電狀態下有效關斷,利用電平轉換電路使輸出COUT端為邏輯電路輸出信號的四級反相,從而使COUT端低電平由VSS降至V-。
[page]
3.3.3 待機狀態
芯(xin)片(pian)中(zhong)的(de)部(bu)分(fen)電(dian)路(lu)設(she)有(you)使(shi)能(neng)端(duan),為(wei)邏(luo)輯(ji)電(dian)路(lu)輸(shu)出(chu)。當(dang)保(bao)護(hu)電(dian)路(lu)進(jin)入(ru)過(guo)放(fang)電(dian)保(bao)護(hu)狀(zhuang)態(tai)後(hou),該(gai)使(shi)能(neng)端(duan)由(you)高(gao)電(dian)位(wei)變(bian)為(wei)低(di)電(dian)位(wei),關(guan)閉(bi)相(xiang)應(ying)電(dian)路(lu),芯(xin)片(pian)進(jin)入(ru)待(dai)機(ji)狀(zhuang)態(tai),從(cong)而(er)大(da)大(da)降(jiang)低(di)消(xiao)耗(hao)電(dian)流(liu),減(jian)小(xiao)功(gong)耗(hao)。

圖4 過充電保護及複原波形圖
4 仿真結果及分析
本芯片采用0.6μm的標準CMOS工藝。使用49級HSPICE模型進行仿真。圖4為過充電保護及複原波形圖,圖5為過放電保護及複原波形圖。
正常工作時,該芯片的消耗電流為2.11μA,而處於待機狀態時的消耗電流僅為0.03μA。過充電過放電的電壓檢測精度約為25mV。

圖5 過放電保護及複原波形圖
5 結論
本文基於全功能電池保護電路原理,針對過放電、過充電、放電過電流、負fu載zai短duan路lu等deng異yi常chang狀zhuang態tai設she置zhi了le相xiang應ying的de保bao護hu機ji製zhi。為wei滿man足zu低di功gong耗hao要yao求qiu,設she計ji了le基ji於yu亞ya閾yu值zhi區qu的de基ji準zhun電dian路lu及ji比bi較jiao器qi,並bing設she置zhi了le待dai機ji狀zhuang態tai。經jing仿fang真zhen驗yan證zheng,本ben芯xin片pian滿man足zu功gong能neng、性能設計要求,已經流片成功。
- 噪聲中提取真值!瑞盟科技推出MSA2240電流檢測芯片賦能多元高端測量場景
- 10MHz高頻運行!氮矽科技發布集成驅動GaN芯片,助力電源能效再攀新高
- 失真度僅0.002%!力芯微推出超低內阻、超低失真4PST模擬開關
- 一“芯”雙電!聖邦微電子發布雙輸出電源芯片,簡化AFE與音頻設計
- 一機適配萬端:金升陽推出1200W可編程電源,賦能高端裝備製造
- 2026藍牙亞洲大會暨展覽在深啟幕
- 新市場與新場景推動嵌入式係統研發走向統一開發平台
- 維智捷發布中國願景
- 2秒啟動係統 • 資源受限下HMI最優解,米爾RK3506開發板× LVGL Demo演示
- H橋降壓-升壓電路中的交替控製與帶寬優化
- 車規與基於V2X的車輛協同主動避撞技術展望
- 數字隔離助力新能源汽車安全隔離的新挑戰
- 汽車模塊拋負載的解決方案
- 車用連接器的安全創新應用
- Melexis Actuators Business Unit
- Position / Current Sensors - Triaxis Hall

