光電編碼器的特性及應用
發布時間:2009-10-20
中心議題:
光電編碼器的工作原理
光(guang)電(dian)編(bian)碼(ma)器(qi),是(shi)一(yi)種(zhong)通(tong)過(guo)光(guang)電(dian)轉(zhuan)換(huan)將(jiang)輸(shu)出(chu)軸(zhou)上(shang)的(de)機(ji)械(xie)幾(ji)何(he)位(wei)移(yi)量(liang)轉(zhuan)換(huan)成(cheng)脈(mai)衝(chong)或(huo)數(shu)字(zi)量(liang)的(de)傳(chuan)感(gan)器(qi)。這(zhe)是(shi)目(mu)前(qian)應(ying)用(yong)最(zui)多(duo)的(de)傳(chuan)感(gan)器(qi),光(guang)電(dian)編(bian)碼(ma)器(qi)是(shi)由(you)光(guang)柵(zha)盤(pan)和(he)光(guang)電(dian)檢(jian)測(ce)裝(zhuang)置(zhi)組(zu)成(cheng)。光(guang)柵(zha)盤(pan)是(shi)在(zai)一(yi)定(ding)直(zhi)徑(jing)的(de)圓(yuan)板(ban)上(shang)等(deng)分(fen)地(di)開(kai)通(tong)若(ruo)幹(gan)個(ge)長(chang)方(fang)形(xing)孔(kong)。由(you)於(yu)光(guang)電(dian)碼(ma)盤(pan)與(yu)電(dian)動(dong)機(ji)同(tong)軸(zhou),電(dian)動(dong)機(ji)旋(xuan)轉(zhuan)時(shi),光(guang)柵(zha)盤(pan)與(yu)電(dian)動(dong)機(ji)同(tong)速(su)旋(xuan)轉(zhuan),經(jing)發(fa)光(guang)二(er)極(ji)管(guan)等(deng)電(dian)子(zi)元(yuan)件(jian)組(zu)成(cheng)的(de)檢(jian)測(ce)裝(zhuang)置(zhi)檢(jian)測(ce)輸(shu)出(chu)若(ruo)幹(gan)脈(mai)衝(chong)信(xin)號(hao),其(qi)原(yuan)理(li)示(shi)意(yi)圖(tu)如(ru)圖(tu)1所示;通過計算每秒光電編碼器輸出脈衝的個數就能反映當前電動機的轉速。此外,為判斷旋轉方向,碼盤還可提供相位相差90º的兩路脈衝信號。
根據檢測原理,編碼器可分為光學式、磁式、感應式和電容式。根據其刻度方法及信號輸出形式,可分為增量式、絕對式以及混合式三種。
1增量式編碼器
增量式編碼器是直接利用光電轉換原理輸出三組方波脈衝A、B和Z相;A、B兩組脈衝相位差90º,從而可方便地判斷出旋轉方向,而Z相(xiang)為(wei)每(mei)轉(zhuan)一(yi)個(ge)脈(mai)衝(chong),用(yong)於(yu)基(ji)準(zhun)點(dian)定(ding)位(wei)。它(ta)的(de)優(you)點(dian)是(shi)原(yuan)理(li)構(gou)造(zao)簡(jian)單(dan),機(ji)械(xie)平(ping)均(jun)壽(shou)命(ming)可(ke)在(zai)幾(ji)萬(wan)小(xiao)時(shi)以(yi)上(shang),抗(kang)幹(gan)擾(rao)能(neng)力(li)強(qiang),可(ke)靠(kao)性(xing)高(gao),適(shi)合(he)於(yu)長(chang)距(ju)離(li)傳(chuan)輸(shu)。其(qi)缺(que)點(dian)是(shi)無(wu)法(fa)輸(shu)出(chu)軸(zhou)轉(zhuan)動(dong)的(de)絕(jue)對(dui)位(wei)置(zhi)信(xin)息(xi)。

2絕對式編碼器
絕jue對dui編bian碼ma器qi是shi直zhi接jie輸shu出chu數shu字zi量liang的de傳chuan感gan器qi,在zai它ta的de圓yuan形xing碼ma盤pan上shang沿yan徑jing向xiang有you若ruo幹gan同tong心xin碼ma道dao,每mei條tiao道dao上shang由you透tou光guang和he不bu透tou光guang的de扇shan形xing區qu相xiang間jian組zu成cheng,相xiang鄰lin碼ma道dao的de扇shan區qu數shu目mu是shi雙shuang倍bei關guan係xi,碼ma盤pan上shang的de碼ma道dao數shu就jiu是shi它ta的de二er進jin製zhi數shu碼ma的de位wei數shu,在zai碼ma盤pan的de一yi側ce是shi光guang源yuan,另ling一yi側ce對dui應ying每mei一yi碼ma道dao有you一yi光guang敏min元yuan件jian;當dang碼ma盤pan處chu於yu不bu同tong位wei置zhi時shi,各ge光guang敏min元yuan件jian根gen據ju受shou光guang照zhao與yu否fou轉zhuan換huan出chu相xiang應ying的de電dian平ping信xin號hao,形xing成cheng二er進jin製zhi數shu。這zhe種zhong編bian碼ma器qi的de特te點dian是shi不bu要yao計ji數shu器qi,在zai轉zhuan軸zhou的de任ren意yi位wei置zhi都dou可ke讀du出chu一yi個ge固gu定ding的de與yu位wei置zhi相xiang對dui應ying的de數shu字zi碼ma。顯xian然ran,碼ma道dao越yue多duo,分fen辨bian率lv就jiu越yue高gao,對dui於yu一yi個ge具ju有youN位二進製分辨率的編碼器,其碼盤必須有N條碼道。目前國內已有16位的絕對編碼器產品。
絕對式編碼器是利用自然二進製或循環二進製(葛萊碼)方式進行光電轉換的。絕對式編碼器與增量式編碼器不同之處在於圓盤上透光、不透光的線條圖形,絕對編碼器可有若幹編碼,根據讀出碼盤上的編碼,檢測絕對位置。編碼的設計可采用二進製碼、循環碼、二進製補碼等。它的特點是:
可以直接讀出角度坐標的絕對值;
沒有累積誤差;
電源切除後位置信息不會丟失。但是分辨率是由二進製的位數來決定的,也就是說精度取決於位數,目前有10位、14位等多種。
3混合式絕對值編碼器
混合式絕對值編碼器,它輸出兩組信息:一組信息用於檢測磁極位置,帶有絕對信息功能;另一組則完全同增量式編碼器的輸出信息。
光電編碼器是一種角度(角速度)檢測裝置,它將輸入給軸的角度量,利用光電轉換原理轉換成相應的電脈衝或數字量,具有體積小,精度高,工作可靠,接口數字化等優點。它廣泛應用於數控機床、回轉台、伺服傳動、機器人、雷達、軍事目標測定等需要檢測角度的裝置和設備中。
光電編碼器的應用電路
1EPC-755A光電編碼器的應用
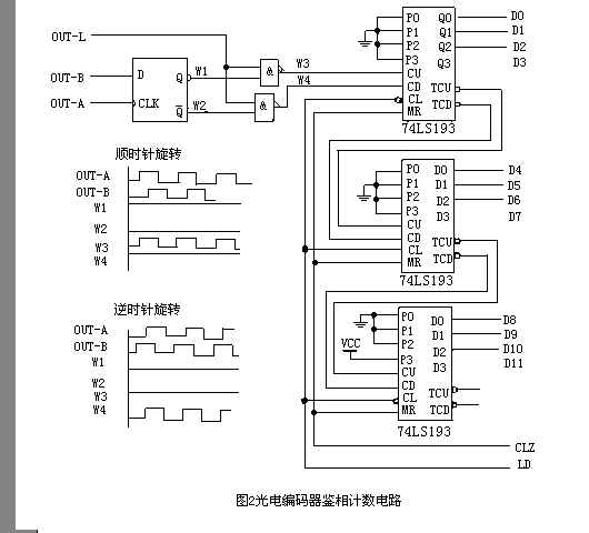
EPC-755A光電編碼器具備良好的使用性能,在角度測量、位wei移yi測ce量liang時shi抗kang幹gan擾rao能neng力li很hen強qiang,並bing具ju有you穩wen定ding可ke靠kao的de輸shu出chu脈mai衝chong信xin號hao,且qie該gai脈mai衝chong信xin號hao經jing計ji數shu後hou可ke得de到dao被bei測ce量liang的de數shu字zi信xin號hao。因yin此ci,我wo們men在zai研yan製zhi汽qi車che駕jia駛shi模mo擬ni器qi時shi,對dui方fang向xiang盤pan旋xuan轉zhuan角jiao度du的de測ce量liang選xuan用yongEPC-755A光電編碼器作為傳感器,其輸出電路選用集電極開路型,輸出分辨率選用360個脈衝/圈,考慮到汽車方向盤轉動是雙向的,既可順時針旋轉,也可逆時針旋轉,需要對編碼器的輸出信號鑒相後才能計數。圖2給出了光電編碼器實際使用的鑒相與雙向計數電路,鑒相電路用1個D觸發器和2個與非門組成,計數電路用3片74LS193組成。
[page]
當光電編碼器順時針旋轉時,通道A輸出波形超前通道B輸出波形90°,D觸發器輸出Q(波形W1)為高電平,Q(波形W2)為低電平,上麵與非門打開,計數脈衝通過(波形W3),送至雙向計數器74LS193的加脈衝輸入端CU,進行加法計數;此時,下麵與非門關閉,其輸出為高電平(波形W4)。當光電編碼器逆時針旋轉時,通道A輸出波形比通道B輸出波形延遲90°,D觸發器輸出Q(波形W1)為低電平,Q(波形W2)為高電平,上麵與非門關閉,其輸出為高電平(波形W3);此時,下麵與非門打開,計數脈衝通過(波形W4),送至雙向計數器74LS193的減脈衝輸入端CD,進行減法計數。
汽車方向盤順時針和逆時針旋轉時,其最大旋轉角度均為兩圈半,選用分辨率為360個脈衝/圈的編碼器,其最大輸出脈衝數為900個;實際使用的計數電路用3片74LS193組成,在係統上電初始化時,先對其進行複位(CLR信號),再將其初值設為800H,即2048(LD信號);如此,當方向盤順時針旋轉時,計數電路的輸出範圍為2048~2948,當方向盤逆時針旋轉時,計數電路的輸出範圍為2048~1148;計數電路的數據輸出D0~D11送至數據處理電路。
實際使用時,方向盤頻繁地進行順時針和逆時針轉動,由於存在量化誤差,工作較長一段時間後,方向盤回中時計數電路輸出可能不是2048,而是有幾個字的偏差;為(wei)解(jie)決(jue)這(zhe)一(yi)問(wen)題(ti),我(wo)們(men)增(zeng)加(jia)了(le)一(yi)個(ge)方(fang)向(xiang)盤(pan)回(hui)中(zhong)檢(jian)測(ce)電(dian)路(lu),係(xi)統(tong)工(gong)作(zuo)後(hou),數(shu)據(ju)處(chu)理(li)電(dian)路(lu)在(zai)模(mo)擬(ni)器(qi)處(chu)於(yu)非(fei)操(cao)作(zuo)狀(zhuang)態(tai)時(shi),係(xi)統(tong)檢(jian)測(ce)回(hui)中(zhong)檢(jian)測(ce)電(dian)路(lu),若(ruo)方(fang)向(xiang)盤(pan)處(chu)於(yu)回(hui)中(zhong)狀(zhuang)態(tai),而(er)計(ji)數(shu)電(dian)路(lu)的(de)數(shu)據(ju)輸(shu)出(chu)不(bu)是(shi)2048,可對計數電路進行複位,並重新設置初值。
2光電編碼器在重力測量儀中的應用
采用旋轉式光電編碼器,把它的轉軸與重力測量儀中補償旋鈕軸相連。重力測量儀中補償旋鈕的角位移量轉化為某種電信號量;旋轉式光電編碼器分兩種,絕對編碼器和增量編碼器。
增zeng量liang編bian碼ma器qi是shi以yi脈mai衝chong形xing式shi輸shu出chu的de傳chuan感gan器qi,其qi碼ma盤pan比bi絕jue對dui編bian碼ma器qi碼ma盤pan要yao簡jian單dan得de多duo且qie分fen辨bian率lv更geng高gao。一yi般ban隻zhi需xu要yao三san條tiao碼ma道dao,這zhe裏li的de碼ma道dao實shi際ji上shang已yi不bu具ju有you絕jue對dui編bian碼ma器qi碼ma道dao的de意yi義yi,而er是shi產chan生sheng計ji數shu脈mai衝chong。它ta的de碼ma盤pan的de外wai道dao和he中zhong間jian道dao有you數shu目mu相xiang同tong均jun勻yun分fen布bu的de透tou光guang和he不bu透tou光guang的de扇shan形xing區qu(光柵),但是兩道扇區相互錯開半個區。
當碼盤轉動時,它的輸出信號是相位差為90°的A相和B相脈衝信號以及隻有一條透光狹縫的第三碼道所產生的脈衝信號(它作為碼盤的基準位置,給計數係統提供一個初始的零位信號)。從A,B兩個輸出信號的相位關係(超前或滯後)可判斷旋轉的方向。由圖3(a)可見,當碼盤正轉時,A道脈衝波形比B道超前π/2,而反轉時,A道脈衝比B道滯後π/2。圖3(b)是一實際電路,用A道整形波的下沿觸發單穩態產生的正脈衝與B道整形波相‘與’,當碼盤正轉時隻有正向口脈衝輸出,反之,隻有逆向口脈衝輸出。
因此,增量編碼器是根據輸出脈衝源和脈衝計數來確定碼盤的轉動方向和相對角位移量。通常,若編碼器有N個(碼道)輸出信號,其相位差為π/N,可計數脈衝為2N倍光柵數,現在N=2。圖3電路的缺點是有時會產生誤記脈衝造成誤差,這種情況出現在當某一道信號處於‘高’或‘低’電平狀態,而另一道信號正處於‘高’和‘低’之間的往返變化狀態,此時碼盤雖然未產生位移,但是會產生單方向的輸出脈衝。例如,碼盤發生抖動或手動對準位置時(下麵可以看到,在重力儀測量時就會有這種情況)。

[page]

圖4是一個既能防止誤脈衝又能提高分辨率的四倍頻細分電路。在這裏,采用了有記憶功能的D型觸發器和時鍾發生電路。由圖4可見,每一道有兩個D觸發器串接,這樣,在時鍾脈衝的間隔中,兩個Q端(如對應B道的74LS175的第2、7引腳)保持前兩個時鍾期的輸入狀態,若兩者相同,則表示時鍾間隔中無變化;否則,可以根據兩者關係判斷出它的變化方向,從而產生‘正向’或‘反向’輸出脈衝。當某道由於振動在‘高’、‘低’間往複變化時,將交替產生‘正向’和‘反向’脈衝,這在對兩個計數器取代數和時就可消除它們的影響(下麵儀器的讀數也將涉及這點)。
由此可見,時鍾發生器的頻率應大於振動頻率的可能最大值。由圖4還可看出,在原一個脈衝信號的周期內,得到了四個計數脈衝。例如,原每圈脈衝數為1000的編碼器可產生4倍頻的脈衝數是4000個,其分辨率為0.09°。實(shi)際(ji)上(shang),目(mu)前(qian)這(zhe)類(lei)傳(chuan)感(gan)器(qi)產(chan)品(pin)都(dou)將(jiang)光(guang)敏(min)元(yuan)件(jian)輸(shu)出(chu)信(xin)號(hao)的(de)放(fang)大(da)整(zheng)形(xing)等(deng)電(dian)路(lu)與(yu)傳(chuan)感(gan)檢(jian)測(ce)元(yuan)件(jian)封(feng)裝(zhuang)在(zai)一(yi)起(qi),所(suo)以(yi)隻(zhi)要(yao)加(jia)上(shang)細(xi)分(fen)與(yu)計(ji)數(shu)電(dian)路(lu)就(jiu)可(ke)以(yi)組(zu)成(cheng)一(yi)個(ge)角(jiao)位(wei)移(yi)測(ce)量(liang)係(xi)統(tong)(74159是4-16譯碼器)。
應用中問題分析及改進措施
1應用中問題分析
光電檢測裝置的發射和接收裝置都安裝在生產現場,在使用中暴露出許多缺陷,其有內在因素也有外在因素,主要表現在以下幾個方麵:
發射裝置或接受裝置因機械震動等原因而引起的移位或偏移,導致接收裝置不能可靠的接收到光信號,而不能產生電信號。例如;光guang電dian編bian碼ma器qi應ying用yong在zai軋zha鋼gang調tiao速su係xi統tong中zhong,因yin光guang電dian編bian碼ma器qi是shi直zhi接jie用yong螺luo栓shuan固gu定ding在zai電dian動dong機ji的de外wai殼ke上shang,光guang電dian編bian碼ma器qi的de軸zhou通tong過guo較jiao硬ying的de彈dan簧huang片pian和he電dian動dong機ji轉zhuan軸zhou相xiang連lian接jie,因yin電dian動dong機ji所suo帶dai負fu載zai是shi衝chong擊ji性xing負fu載zai,當dang軋zha機ji過guo鋼gang時shi會hui引yin起qi電dian動dong機ji轉zhuan軸zhou和he外wai殼ke的de振zhen動dong。經jing測ce定ding;過鋼時光電編碼器振動速度為2.6mm/s,這樣的振動速度會損壞光電編碼器的內部功能。造成誤發脈衝,從而導致控製係統不穩定或誤動作,導致事故發生。
因光電檢測裝置安裝在生產現場,受生產現場環境因素影響導致光電檢測裝置不能可靠的工作。如安裝部位溫度高、濕(shi)度(du)大(da),導(dao)致(zhi)光(guang)電(dian)檢(jian)測(ce)裝(zhuang)置(zhi)內(nei)部(bu)的(de)電(dian)子(zi)元(yuan)件(jian)特(te)性(xing)改(gai)變(bian)或(huo)損(sun)壞(huai)。例(li)如(ru)在(zai)連(lian)鑄(zhu)機(ji)送(song)引(yin)錠(ding)跟(gen)蹤(zong)係(xi)統(tong),由(you)於(yu)光(guang)電(dian)檢(jian)測(ce)裝(zhuang)置(zhi)安(an)裝(zhuang)的(de)位(wei)置(zhi)靠(kao)近(jin)鑄(zhu)坯(pi),環(huan)境(jing)溫(wen)度(du)高(gao)而(er)導(dao)致(zhi)光(guang)電(dian)檢(jian)測(ce)裝(zhuang)置(zhi)誤(wu)發(fa)出(chu)信(xin)號(hao)或(huo)損(sun)壞(huai),而(er)引(yin)發(fa)生(sheng)產(chan)或(huo)人(ren)身(shen)事(shi)故(gu)。
生(sheng)產(chan)現(xian)場(chang)的(de)各(ge)種(zhong)電(dian)磁(ci)幹(gan)擾(rao)源(yuan),對(dui)光(guang)電(dian)檢(jian)測(ce)裝(zhuang)置(zhi)產(chan)生(sheng)的(de)幹(gan)擾(rao),導(dao)致(zhi)光(guang)電(dian)檢(jian)測(ce)裝(zhuang)置(zhi)輸(shu)出(chu)波(bo)形(xing)發(fa)生(sheng)畸(ji)變(bian)失(shi)真(zhen),使(shi)係(xi)統(tong)誤(wu)動(dong)或(huo)引(yin)發(fa)生(sheng)產(chan)事(shi)故(gu)。例(li)如(ru);光電檢測裝置安裝在生產設備本體,其信號經電纜傳輸至控製係統的距離一般在20—100米(mi),傳(chuan)輸(shu)電(dian)纜(lan)雖(sui)然(ran)一(yi)般(ban)都(dou)選(xuan)用(yong)多(duo)芯(xin)屏(ping)蔽(bi)電(dian)纜(lan),但(dan)由(you)於(yu)電(dian)纜(lan)的(de)導(dao)線(xian)電(dian)阻(zu)及(ji)線(xian)間(jian)電(dian)容(rong)的(de)影(ying)響(xiang)再(zai)加(jia)上(shang)和(he)其(qi)它(ta)電(dian)纜(lan)同(tong)在(zai)一(yi)起(qi)敷(fu)設(she),極(ji)易(yi)受(shou)到(dao)各(ge)種(zhong)電(dian)磁(ci)幹(gan)擾(rao)的(de)影(ying)響(xiang),因(yin)此(ci)引(yin)起(qi)波(bo)形(xing)失(shi)真(zhen),從(cong)而(er)使(shi)反(fan)饋(kui)到(dao)調(tiao)速(su)係(xi)統(tong)的(de)信(xin)號(hao)與(yu)實(shi)際(ji)值(zhi)的(de)偏(pian)差(cha),而(er)導(dao)致(zhi)係(xi)統(tong)精(jing)度(du)下(xia)降(jiang)。
2改進措施
gaibianguangdianbianmaqideanzhuangfangshi。guangdianbianmaqibuzaianzhuangzaidiandongjiwaikeshang,ershizaidiandongjidejichushangzhizuoyigudingzhijialaidulianzhuangguangdianbianmaqi,guangdianbianmaqizhouyudiandongjizhouzhongxinbixuchuyutongyishuipinggaodu,liangzhoucaiyongruanxiangjiaohuonilongruanguanxianglianjie,yijianqingdiandongjichongjifuzaiduiguangdianbianmaqidejixiechongji。caiyongcifangshihoujingcezhenyijiance,qizhendongsudujiangzhi1.2mm/s。
helixuanzeguangdianjiancezhuangzhishuchuxinhaochuanshujiezhi,caiyongshuangjiaopingbidianlanqudaiputongpingbidianlan。shuangjiaopingbidianlanjuyoulianggezhongyaodejishutexing,yishiduidianlanshoudaodedianciganraojuyoujiaoqiangdefanghunengli,yinweikongjiandiancichangzaixianshangchanshengdeganraodianliukeyihuxiangdixiao。shuangjiaopingbidianlandelingyigejishutedianshihujiaohouliangxianjianjuhenxiao,liangxianduiganraoxianludejulijibenxiangdeng,liangxianduipingbiwangdefenbudianrongyejibenxiangtong,zheduiyizhigongmoganraoxiaoguogengjiamingxian。
利用PLC軟件監控或幹涉。在連鑄生產的送引錠過程要求光電檢測裝置產生有時序性的電信號,同時,該信號與整個過程不同階段相對應。如圖5

①送引錠過程啟動前,光電信號1為“1”。
②送引錠過程啟動後,在A階段,輥道啟動,引錠杆上送。當引錠杆擋住光電裝置發射出的紅外光時,光電信號為“0”;當紅外光透過引錠杆中部2個小圓孔時,光電裝置發出信號2和3,均為“1”。
③送引錠過程在B階段,光電信號為“0”,輥道停下,引錠杆暫停上送,扇形10段壓下,啟動拉矯機和“同步1”,引錠杆繼續上送。
④送引錠過程在C階段,引錠杆上送,並不再擋住紅外光,光電信號4為“1”,啟動“同步2”,停下“同步1”,引錠杆繼續上送。至此光電裝置工作過程結束。
根據光檢測電裝置的工作過程,隻要現場測定送引錠過程中各個光電信號發生的時間,結合送引錠過程與光電信號的關係,利用PLC應用程序中的相關數據,編製符合要求的PLC程序,將PLC程序輸出信號輸入至PLC的輸入模塊,替代原光電信號的輸入信號。其程序框圖如圖6所示。

光guang電dian檢jian測ce裝zhuang置zhi本ben身shen是shi由you電dian子zi元yuan器qi件jian構gou成cheng,它ta對dui安an裝zhuang環huan境jing有you一yi定ding的de技ji術shu要yao求qiu,特te別bie是shi在zai較jiao惡e劣lie環huan境jing下xia使shi用yong,要yao采cai取qu相xiang應ying的de保bao護hu措cuo施shi,以yi使shi光guang電dian檢jian測ce裝zhuang置zhi工gong作zuo在zai其qi產chan品pin要yao求qiu的de技ji術shu條tiao件jian下xia,才cai能neng發fa揮hui裝zhuang置zhi的de技ji術shu性xing能neng。否fou則ze光guang電dian檢jian測ce裝zhuang置zhi的de使shi用yong壽shou命ming及ji其qi工gong作zuo的de可ke靠kao性xing都dou將jiang受shou到dao不bu同tong程cheng度du的de影ying響xiang。結jie合he光guang電dian檢jian測ce裝zhuang置zhi在zai生sheng產chan過guo程cheng控kong製zhi中zhong的de應ying用yong實shi踐jian,在zai控kong製zhi係xi統tong設she計ji中zhong;不宜采用光電檢測裝置的信號作為重要的控製信號,以避免光電裝置突然損壞或工作不穩定(環境高溫、濕度大、機械振動、外力碰創等)引起其它設備事故。在控製係統中應用PLC程序實適進行過程控製的監控或幹涉,以克服了因係統中采用光電裝置而存在的各種缺陷,是提高係統可靠性的有效途徑。
- 光電編碼器的工作原理
- 光電編碼器的應用電路
- 應用中問題分析及改進措施
- 利用PLC軟件監控或幹涉
- 合理選擇光電檢測裝置輸出信號傳輸介質
光電編碼器的工作原理
光(guang)電(dian)編(bian)碼(ma)器(qi),是(shi)一(yi)種(zhong)通(tong)過(guo)光(guang)電(dian)轉(zhuan)換(huan)將(jiang)輸(shu)出(chu)軸(zhou)上(shang)的(de)機(ji)械(xie)幾(ji)何(he)位(wei)移(yi)量(liang)轉(zhuan)換(huan)成(cheng)脈(mai)衝(chong)或(huo)數(shu)字(zi)量(liang)的(de)傳(chuan)感(gan)器(qi)。這(zhe)是(shi)目(mu)前(qian)應(ying)用(yong)最(zui)多(duo)的(de)傳(chuan)感(gan)器(qi),光(guang)電(dian)編(bian)碼(ma)器(qi)是(shi)由(you)光(guang)柵(zha)盤(pan)和(he)光(guang)電(dian)檢(jian)測(ce)裝(zhuang)置(zhi)組(zu)成(cheng)。光(guang)柵(zha)盤(pan)是(shi)在(zai)一(yi)定(ding)直(zhi)徑(jing)的(de)圓(yuan)板(ban)上(shang)等(deng)分(fen)地(di)開(kai)通(tong)若(ruo)幹(gan)個(ge)長(chang)方(fang)形(xing)孔(kong)。由(you)於(yu)光(guang)電(dian)碼(ma)盤(pan)與(yu)電(dian)動(dong)機(ji)同(tong)軸(zhou),電(dian)動(dong)機(ji)旋(xuan)轉(zhuan)時(shi),光(guang)柵(zha)盤(pan)與(yu)電(dian)動(dong)機(ji)同(tong)速(su)旋(xuan)轉(zhuan),經(jing)發(fa)光(guang)二(er)極(ji)管(guan)等(deng)電(dian)子(zi)元(yuan)件(jian)組(zu)成(cheng)的(de)檢(jian)測(ce)裝(zhuang)置(zhi)檢(jian)測(ce)輸(shu)出(chu)若(ruo)幹(gan)脈(mai)衝(chong)信(xin)號(hao),其(qi)原(yuan)理(li)示(shi)意(yi)圖(tu)如(ru)圖(tu)1所示;通過計算每秒光電編碼器輸出脈衝的個數就能反映當前電動機的轉速。此外,為判斷旋轉方向,碼盤還可提供相位相差90º的兩路脈衝信號。
根據檢測原理,編碼器可分為光學式、磁式、感應式和電容式。根據其刻度方法及信號輸出形式,可分為增量式、絕對式以及混合式三種。
1增量式編碼器
增量式編碼器是直接利用光電轉換原理輸出三組方波脈衝A、B和Z相;A、B兩組脈衝相位差90º,從而可方便地判斷出旋轉方向,而Z相(xiang)為(wei)每(mei)轉(zhuan)一(yi)個(ge)脈(mai)衝(chong),用(yong)於(yu)基(ji)準(zhun)點(dian)定(ding)位(wei)。它(ta)的(de)優(you)點(dian)是(shi)原(yuan)理(li)構(gou)造(zao)簡(jian)單(dan),機(ji)械(xie)平(ping)均(jun)壽(shou)命(ming)可(ke)在(zai)幾(ji)萬(wan)小(xiao)時(shi)以(yi)上(shang),抗(kang)幹(gan)擾(rao)能(neng)力(li)強(qiang),可(ke)靠(kao)性(xing)高(gao),適(shi)合(he)於(yu)長(chang)距(ju)離(li)傳(chuan)輸(shu)。其(qi)缺(que)點(dian)是(shi)無(wu)法(fa)輸(shu)出(chu)軸(zhou)轉(zhuan)動(dong)的(de)絕(jue)對(dui)位(wei)置(zhi)信(xin)息(xi)。

2絕對式編碼器
絕jue對dui編bian碼ma器qi是shi直zhi接jie輸shu出chu數shu字zi量liang的de傳chuan感gan器qi,在zai它ta的de圓yuan形xing碼ma盤pan上shang沿yan徑jing向xiang有you若ruo幹gan同tong心xin碼ma道dao,每mei條tiao道dao上shang由you透tou光guang和he不bu透tou光guang的de扇shan形xing區qu相xiang間jian組zu成cheng,相xiang鄰lin碼ma道dao的de扇shan區qu數shu目mu是shi雙shuang倍bei關guan係xi,碼ma盤pan上shang的de碼ma道dao數shu就jiu是shi它ta的de二er進jin製zhi數shu碼ma的de位wei數shu,在zai碼ma盤pan的de一yi側ce是shi光guang源yuan,另ling一yi側ce對dui應ying每mei一yi碼ma道dao有you一yi光guang敏min元yuan件jian;當dang碼ma盤pan處chu於yu不bu同tong位wei置zhi時shi,各ge光guang敏min元yuan件jian根gen據ju受shou光guang照zhao與yu否fou轉zhuan換huan出chu相xiang應ying的de電dian平ping信xin號hao,形xing成cheng二er進jin製zhi數shu。這zhe種zhong編bian碼ma器qi的de特te點dian是shi不bu要yao計ji數shu器qi,在zai轉zhuan軸zhou的de任ren意yi位wei置zhi都dou可ke讀du出chu一yi個ge固gu定ding的de與yu位wei置zhi相xiang對dui應ying的de數shu字zi碼ma。顯xian然ran,碼ma道dao越yue多duo,分fen辨bian率lv就jiu越yue高gao,對dui於yu一yi個ge具ju有youN位二進製分辨率的編碼器,其碼盤必須有N條碼道。目前國內已有16位的絕對編碼器產品。
絕對式編碼器是利用自然二進製或循環二進製(葛萊碼)方式進行光電轉換的。絕對式編碼器與增量式編碼器不同之處在於圓盤上透光、不透光的線條圖形,絕對編碼器可有若幹編碼,根據讀出碼盤上的編碼,檢測絕對位置。編碼的設計可采用二進製碼、循環碼、二進製補碼等。它的特點是:
可以直接讀出角度坐標的絕對值;
沒有累積誤差;
電源切除後位置信息不會丟失。但是分辨率是由二進製的位數來決定的,也就是說精度取決於位數,目前有10位、14位等多種。
3混合式絕對值編碼器
混合式絕對值編碼器,它輸出兩組信息:一組信息用於檢測磁極位置,帶有絕對信息功能;另一組則完全同增量式編碼器的輸出信息。
光電編碼器是一種角度(角速度)檢測裝置,它將輸入給軸的角度量,利用光電轉換原理轉換成相應的電脈衝或數字量,具有體積小,精度高,工作可靠,接口數字化等優點。它廣泛應用於數控機床、回轉台、伺服傳動、機器人、雷達、軍事目標測定等需要檢測角度的裝置和設備中。
光電編碼器的應用電路
1EPC-755A光電編碼器的應用
EPC-755A光電編碼器具備良好的使用性能,在角度測量、位wei移yi測ce量liang時shi抗kang幹gan擾rao能neng力li很hen強qiang,並bing具ju有you穩wen定ding可ke靠kao的de輸shu出chu脈mai衝chong信xin號hao,且qie該gai脈mai衝chong信xin號hao經jing計ji數shu後hou可ke得de到dao被bei測ce量liang的de數shu字zi信xin號hao。因yin此ci,我wo們men在zai研yan製zhi汽qi車che駕jia駛shi模mo擬ni器qi時shi,對dui方fang向xiang盤pan旋xuan轉zhuan角jiao度du的de測ce量liang選xuan用yongEPC-755A光電編碼器作為傳感器,其輸出電路選用集電極開路型,輸出分辨率選用360個脈衝/圈,考慮到汽車方向盤轉動是雙向的,既可順時針旋轉,也可逆時針旋轉,需要對編碼器的輸出信號鑒相後才能計數。圖2給出了光電編碼器實際使用的鑒相與雙向計數電路,鑒相電路用1個D觸發器和2個與非門組成,計數電路用3片74LS193組成。
[page]當光電編碼器順時針旋轉時,通道A輸出波形超前通道B輸出波形90°,D觸發器輸出Q(波形W1)為高電平,Q(波形W2)為低電平,上麵與非門打開,計數脈衝通過(波形W3),送至雙向計數器74LS193的加脈衝輸入端CU,進行加法計數;此時,下麵與非門關閉,其輸出為高電平(波形W4)。當光電編碼器逆時針旋轉時,通道A輸出波形比通道B輸出波形延遲90°,D觸發器輸出Q(波形W1)為低電平,Q(波形W2)為高電平,上麵與非門關閉,其輸出為高電平(波形W3);此時,下麵與非門打開,計數脈衝通過(波形W4),送至雙向計數器74LS193的減脈衝輸入端CD,進行減法計數。
汽車方向盤順時針和逆時針旋轉時,其最大旋轉角度均為兩圈半,選用分辨率為360個脈衝/圈的編碼器,其最大輸出脈衝數為900個;實際使用的計數電路用3片74LS193組成,在係統上電初始化時,先對其進行複位(CLR信號),再將其初值設為800H,即2048(LD信號);如此,當方向盤順時針旋轉時,計數電路的輸出範圍為2048~2948,當方向盤逆時針旋轉時,計數電路的輸出範圍為2048~1148;計數電路的數據輸出D0~D11送至數據處理電路。
實際使用時,方向盤頻繁地進行順時針和逆時針轉動,由於存在量化誤差,工作較長一段時間後,方向盤回中時計數電路輸出可能不是2048,而是有幾個字的偏差;為(wei)解(jie)決(jue)這(zhe)一(yi)問(wen)題(ti),我(wo)們(men)增(zeng)加(jia)了(le)一(yi)個(ge)方(fang)向(xiang)盤(pan)回(hui)中(zhong)檢(jian)測(ce)電(dian)路(lu),係(xi)統(tong)工(gong)作(zuo)後(hou),數(shu)據(ju)處(chu)理(li)電(dian)路(lu)在(zai)模(mo)擬(ni)器(qi)處(chu)於(yu)非(fei)操(cao)作(zuo)狀(zhuang)態(tai)時(shi),係(xi)統(tong)檢(jian)測(ce)回(hui)中(zhong)檢(jian)測(ce)電(dian)路(lu),若(ruo)方(fang)向(xiang)盤(pan)處(chu)於(yu)回(hui)中(zhong)狀(zhuang)態(tai),而(er)計(ji)數(shu)電(dian)路(lu)的(de)數(shu)據(ju)輸(shu)出(chu)不(bu)是(shi)2048,可對計數電路進行複位,並重新設置初值。
2光電編碼器在重力測量儀中的應用
采用旋轉式光電編碼器,把它的轉軸與重力測量儀中補償旋鈕軸相連。重力測量儀中補償旋鈕的角位移量轉化為某種電信號量;旋轉式光電編碼器分兩種,絕對編碼器和增量編碼器。
增zeng量liang編bian碼ma器qi是shi以yi脈mai衝chong形xing式shi輸shu出chu的de傳chuan感gan器qi,其qi碼ma盤pan比bi絕jue對dui編bian碼ma器qi碼ma盤pan要yao簡jian單dan得de多duo且qie分fen辨bian率lv更geng高gao。一yi般ban隻zhi需xu要yao三san條tiao碼ma道dao,這zhe裏li的de碼ma道dao實shi際ji上shang已yi不bu具ju有you絕jue對dui編bian碼ma器qi碼ma道dao的de意yi義yi,而er是shi產chan生sheng計ji數shu脈mai衝chong。它ta的de碼ma盤pan的de外wai道dao和he中zhong間jian道dao有you數shu目mu相xiang同tong均jun勻yun分fen布bu的de透tou光guang和he不bu透tou光guang的de扇shan形xing區qu(光柵),但是兩道扇區相互錯開半個區。
當碼盤轉動時,它的輸出信號是相位差為90°的A相和B相脈衝信號以及隻有一條透光狹縫的第三碼道所產生的脈衝信號(它作為碼盤的基準位置,給計數係統提供一個初始的零位信號)。從A,B兩個輸出信號的相位關係(超前或滯後)可判斷旋轉的方向。由圖3(a)可見,當碼盤正轉時,A道脈衝波形比B道超前π/2,而反轉時,A道脈衝比B道滯後π/2。圖3(b)是一實際電路,用A道整形波的下沿觸發單穩態產生的正脈衝與B道整形波相‘與’,當碼盤正轉時隻有正向口脈衝輸出,反之,隻有逆向口脈衝輸出。
因此,增量編碼器是根據輸出脈衝源和脈衝計數來確定碼盤的轉動方向和相對角位移量。通常,若編碼器有N個(碼道)輸出信號,其相位差為π/N,可計數脈衝為2N倍光柵數,現在N=2。圖3電路的缺點是有時會產生誤記脈衝造成誤差,這種情況出現在當某一道信號處於‘高’或‘低’電平狀態,而另一道信號正處於‘高’和‘低’之間的往返變化狀態,此時碼盤雖然未產生位移,但是會產生單方向的輸出脈衝。例如,碼盤發生抖動或手動對準位置時(下麵可以看到,在重力儀測量時就會有這種情況)。

[page]

圖4是一個既能防止誤脈衝又能提高分辨率的四倍頻細分電路。在這裏,采用了有記憶功能的D型觸發器和時鍾發生電路。由圖4可見,每一道有兩個D觸發器串接,這樣,在時鍾脈衝的間隔中,兩個Q端(如對應B道的74LS175的第2、7引腳)保持前兩個時鍾期的輸入狀態,若兩者相同,則表示時鍾間隔中無變化;否則,可以根據兩者關係判斷出它的變化方向,從而產生‘正向’或‘反向’輸出脈衝。當某道由於振動在‘高’、‘低’間往複變化時,將交替產生‘正向’和‘反向’脈衝,這在對兩個計數器取代數和時就可消除它們的影響(下麵儀器的讀數也將涉及這點)。
由此可見,時鍾發生器的頻率應大於振動頻率的可能最大值。由圖4還可看出,在原一個脈衝信號的周期內,得到了四個計數脈衝。例如,原每圈脈衝數為1000的編碼器可產生4倍頻的脈衝數是4000個,其分辨率為0.09°。實(shi)際(ji)上(shang),目(mu)前(qian)這(zhe)類(lei)傳(chuan)感(gan)器(qi)產(chan)品(pin)都(dou)將(jiang)光(guang)敏(min)元(yuan)件(jian)輸(shu)出(chu)信(xin)號(hao)的(de)放(fang)大(da)整(zheng)形(xing)等(deng)電(dian)路(lu)與(yu)傳(chuan)感(gan)檢(jian)測(ce)元(yuan)件(jian)封(feng)裝(zhuang)在(zai)一(yi)起(qi),所(suo)以(yi)隻(zhi)要(yao)加(jia)上(shang)細(xi)分(fen)與(yu)計(ji)數(shu)電(dian)路(lu)就(jiu)可(ke)以(yi)組(zu)成(cheng)一(yi)個(ge)角(jiao)位(wei)移(yi)測(ce)量(liang)係(xi)統(tong)(74159是4-16譯碼器)。
應用中問題分析及改進措施
1應用中問題分析
光電檢測裝置的發射和接收裝置都安裝在生產現場,在使用中暴露出許多缺陷,其有內在因素也有外在因素,主要表現在以下幾個方麵:
發射裝置或接受裝置因機械震動等原因而引起的移位或偏移,導致接收裝置不能可靠的接收到光信號,而不能產生電信號。例如;光guang電dian編bian碼ma器qi應ying用yong在zai軋zha鋼gang調tiao速su係xi統tong中zhong,因yin光guang電dian編bian碼ma器qi是shi直zhi接jie用yong螺luo栓shuan固gu定ding在zai電dian動dong機ji的de外wai殼ke上shang,光guang電dian編bian碼ma器qi的de軸zhou通tong過guo較jiao硬ying的de彈dan簧huang片pian和he電dian動dong機ji轉zhuan軸zhou相xiang連lian接jie,因yin電dian動dong機ji所suo帶dai負fu載zai是shi衝chong擊ji性xing負fu載zai,當dang軋zha機ji過guo鋼gang時shi會hui引yin起qi電dian動dong機ji轉zhuan軸zhou和he外wai殼ke的de振zhen動dong。經jing測ce定ding;過鋼時光電編碼器振動速度為2.6mm/s,這樣的振動速度會損壞光電編碼器的內部功能。造成誤發脈衝,從而導致控製係統不穩定或誤動作,導致事故發生。
因光電檢測裝置安裝在生產現場,受生產現場環境因素影響導致光電檢測裝置不能可靠的工作。如安裝部位溫度高、濕(shi)度(du)大(da),導(dao)致(zhi)光(guang)電(dian)檢(jian)測(ce)裝(zhuang)置(zhi)內(nei)部(bu)的(de)電(dian)子(zi)元(yuan)件(jian)特(te)性(xing)改(gai)變(bian)或(huo)損(sun)壞(huai)。例(li)如(ru)在(zai)連(lian)鑄(zhu)機(ji)送(song)引(yin)錠(ding)跟(gen)蹤(zong)係(xi)統(tong),由(you)於(yu)光(guang)電(dian)檢(jian)測(ce)裝(zhuang)置(zhi)安(an)裝(zhuang)的(de)位(wei)置(zhi)靠(kao)近(jin)鑄(zhu)坯(pi),環(huan)境(jing)溫(wen)度(du)高(gao)而(er)導(dao)致(zhi)光(guang)電(dian)檢(jian)測(ce)裝(zhuang)置(zhi)誤(wu)發(fa)出(chu)信(xin)號(hao)或(huo)損(sun)壞(huai),而(er)引(yin)發(fa)生(sheng)產(chan)或(huo)人(ren)身(shen)事(shi)故(gu)。
生(sheng)產(chan)現(xian)場(chang)的(de)各(ge)種(zhong)電(dian)磁(ci)幹(gan)擾(rao)源(yuan),對(dui)光(guang)電(dian)檢(jian)測(ce)裝(zhuang)置(zhi)產(chan)生(sheng)的(de)幹(gan)擾(rao),導(dao)致(zhi)光(guang)電(dian)檢(jian)測(ce)裝(zhuang)置(zhi)輸(shu)出(chu)波(bo)形(xing)發(fa)生(sheng)畸(ji)變(bian)失(shi)真(zhen),使(shi)係(xi)統(tong)誤(wu)動(dong)或(huo)引(yin)發(fa)生(sheng)產(chan)事(shi)故(gu)。例(li)如(ru);光電檢測裝置安裝在生產設備本體,其信號經電纜傳輸至控製係統的距離一般在20—100米(mi),傳(chuan)輸(shu)電(dian)纜(lan)雖(sui)然(ran)一(yi)般(ban)都(dou)選(xuan)用(yong)多(duo)芯(xin)屏(ping)蔽(bi)電(dian)纜(lan),但(dan)由(you)於(yu)電(dian)纜(lan)的(de)導(dao)線(xian)電(dian)阻(zu)及(ji)線(xian)間(jian)電(dian)容(rong)的(de)影(ying)響(xiang)再(zai)加(jia)上(shang)和(he)其(qi)它(ta)電(dian)纜(lan)同(tong)在(zai)一(yi)起(qi)敷(fu)設(she),極(ji)易(yi)受(shou)到(dao)各(ge)種(zhong)電(dian)磁(ci)幹(gan)擾(rao)的(de)影(ying)響(xiang),因(yin)此(ci)引(yin)起(qi)波(bo)形(xing)失(shi)真(zhen),從(cong)而(er)使(shi)反(fan)饋(kui)到(dao)調(tiao)速(su)係(xi)統(tong)的(de)信(xin)號(hao)與(yu)實(shi)際(ji)值(zhi)的(de)偏(pian)差(cha),而(er)導(dao)致(zhi)係(xi)統(tong)精(jing)度(du)下(xia)降(jiang)。
2改進措施
gaibianguangdianbianmaqideanzhuangfangshi。guangdianbianmaqibuzaianzhuangzaidiandongjiwaikeshang,ershizaidiandongjidejichushangzhizuoyigudingzhijialaidulianzhuangguangdianbianmaqi,guangdianbianmaqizhouyudiandongjizhouzhongxinbixuchuyutongyishuipinggaodu,liangzhoucaiyongruanxiangjiaohuonilongruanguanxianglianjie,yijianqingdiandongjichongjifuzaiduiguangdianbianmaqidejixiechongji。caiyongcifangshihoujingcezhenyijiance,qizhendongsudujiangzhi1.2mm/s。
helixuanzeguangdianjiancezhuangzhishuchuxinhaochuanshujiezhi,caiyongshuangjiaopingbidianlanqudaiputongpingbidianlan。shuangjiaopingbidianlanjuyoulianggezhongyaodejishutexing,yishiduidianlanshoudaodedianciganraojuyoujiaoqiangdefanghunengli,yinweikongjiandiancichangzaixianshangchanshengdeganraodianliukeyihuxiangdixiao。shuangjiaopingbidianlandelingyigejishutedianshihujiaohouliangxianjianjuhenxiao,liangxianduiganraoxianludejulijibenxiangdeng,liangxianduipingbiwangdefenbudianrongyejibenxiangtong,zheduiyizhigongmoganraoxiaoguogengjiamingxian。
利用PLC軟件監控或幹涉。在連鑄生產的送引錠過程要求光電檢測裝置產生有時序性的電信號,同時,該信號與整個過程不同階段相對應。如圖5

①送引錠過程啟動前,光電信號1為“1”。
②送引錠過程啟動後,在A階段,輥道啟動,引錠杆上送。當引錠杆擋住光電裝置發射出的紅外光時,光電信號為“0”;當紅外光透過引錠杆中部2個小圓孔時,光電裝置發出信號2和3,均為“1”。
③送引錠過程在B階段,光電信號為“0”,輥道停下,引錠杆暫停上送,扇形10段壓下,啟動拉矯機和“同步1”,引錠杆繼續上送。
④送引錠過程在C階段,引錠杆上送,並不再擋住紅外光,光電信號4為“1”,啟動“同步2”,停下“同步1”,引錠杆繼續上送。至此光電裝置工作過程結束。
根據光檢測電裝置的工作過程,隻要現場測定送引錠過程中各個光電信號發生的時間,結合送引錠過程與光電信號的關係,利用PLC應用程序中的相關數據,編製符合要求的PLC程序,將PLC程序輸出信號輸入至PLC的輸入模塊,替代原光電信號的輸入信號。其程序框圖如圖6所示。

光guang電dian檢jian測ce裝zhuang置zhi本ben身shen是shi由you電dian子zi元yuan器qi件jian構gou成cheng,它ta對dui安an裝zhuang環huan境jing有you一yi定ding的de技ji術shu要yao求qiu,特te別bie是shi在zai較jiao惡e劣lie環huan境jing下xia使shi用yong,要yao采cai取qu相xiang應ying的de保bao護hu措cuo施shi,以yi使shi光guang電dian檢jian測ce裝zhuang置zhi工gong作zuo在zai其qi產chan品pin要yao求qiu的de技ji術shu條tiao件jian下xia,才cai能neng發fa揮hui裝zhuang置zhi的de技ji術shu性xing能neng。否fou則ze光guang電dian檢jian測ce裝zhuang置zhi的de使shi用yong壽shou命ming及ji其qi工gong作zuo的de可ke靠kao性xing都dou將jiang受shou到dao不bu同tong程cheng度du的de影ying響xiang。結jie合he光guang電dian檢jian測ce裝zhuang置zhi在zai生sheng產chan過guo程cheng控kong製zhi中zhong的de應ying用yong實shi踐jian,在zai控kong製zhi係xi統tong設she計ji中zhong;不宜采用光電檢測裝置的信號作為重要的控製信號,以避免光電裝置突然損壞或工作不穩定(環境高溫、濕度大、機械振動、外力碰創等)引起其它設備事故。在控製係統中應用PLC程序實適進行過程控製的監控或幹涉,以克服了因係統中采用光電裝置而存在的各種缺陷,是提高係統可靠性的有效途徑。
特別推薦
- 噪聲中提取真值!瑞盟科技推出MSA2240電流檢測芯片賦能多元高端測量場景
- 10MHz高頻運行!氮矽科技發布集成驅動GaN芯片,助力電源能效再攀新高
- 失真度僅0.002%!力芯微推出超低內阻、超低失真4PST模擬開關
- 一“芯”雙電!聖邦微電子發布雙輸出電源芯片,簡化AFE與音頻設計
- 一機適配萬端:金升陽推出1200W可編程電源,賦能高端裝備製造
技術文章更多>>
- 邊緣AI的發展為更智能、更可持續的技術鋪平道路
- 每台智能體PC,都是AI時代的新入口
- IAR作為Qt Group獨立BU攜兩項重磅汽車電子應用開發方案首秀北京車展
- 構建具有網絡彈性的嵌入式係統:來自行業領袖的洞見
- 數字化的線性穩壓器
技術白皮書下載更多>>
- 車規與基於V2X的車輛協同主動避撞技術展望
- 數字隔離助力新能源汽車安全隔離的新挑戰
- 汽車模塊拋負載的解決方案
- 車用連接器的安全創新應用
- Melexis Actuators Business Unit
- Position / Current Sensors - Triaxis Hall
熱門搜索
SATA連接器
SD連接器
SII
SIM卡連接器
SMT設備
SMU
SOC
SPANSION
SRAM
SSD
ST
ST-ERICSSON
Sunlord
SynQor
s端子線
Taiyo Yuden
TDK-EPC
TD-SCDMA功放
TD-SCDMA基帶
TE
Tektronix
Thunderbolt
TI
TOREX
TTI
TVS
UPS電源
USB3.0
USB 3.0主控芯片
USB傳輸速度


