基於MEMS的醫療運動檢測係統變革
發布時間:2011-09-19
中心議題:
- MEMS基本原理
- 基於MEMS的醫療運動檢測係統應用
- 醫療MEMS的複雜性
基於MEMS的係統可以顯著提高髖關節和膝關節植入體與病人骨骼結構的對準精度,減輕不舒適感,從而避免進行修正手術。
導航通常與汽車、卡車、飛機、輪lun船chuan,當dang然ran還hai有you人ren相xiang關guan。但dan是shi,它ta也ye開kai始shi在zai醫yi療liao技ji術shu領ling域yu發fa揮hui重zhong要yao作zuo用yong,精jing密mi手shou術shu儀yi器qi和he機ji器qi人ren就jiu需xu要yao使shi用yong導dao航hang。手shou術shu導dao航hang工gong具ju的de設she計ji要yao求qiu與yu傳chuan統tong的de車che輛liang導dao航hang具ju有you廣guang泛fan的de共gong同tong點dian,但dan前qian者zhe也ye提ti出chu了le一yi些xie獨du特te的de挑tiao戰zhan(例如,由於是在室內使用,無法獲得GPS支持),需要更高的性能。
本文將研究醫療導航應用的獨特挑戰,並且探討可能的解決方案--從傳感器jizhidaoxitongtexing。shouxianjianghuiguchuanganqideyixiezhongyaoxingnengzhibiao,yijizaichuanganqixuanxingzhongyingdangkaolvdeqianzaiwuchahepiaoyijizhi。benwenhaihuizhongdianjieshaotongguojicheng、融合和處理來增強傳感器的方法,例如通過采用卡爾曼濾波。然而,在展開詳細論述之前,回顧慣性微機電係統(MEMS)傳感器技術的一些基本原理可能會有幫助。
1 MEMS基本原理
一度被認為是奇思異想的MEMSjishu,xianyichengweiwomendaduoshurenmeitiandouhuipengdaodechengshujishu。tashiwomendeqichegengjiaanquan,zengqiangleshoujidekeyongxing,nenggouceliangheyouhuagongjujiyundongshebeidexingneng,bingqiebuduantigaoduizhuyuanbingrenhemenzhenbingrendeyiliaohulishuiping。

表1 按運動類型劃分的醫療應用
用於線性運動檢測的MEMS器(qi)件(jian)通(tong)常(chang)是(shi)基(ji)於(yu)一(yi)個(ge)微(wei)加(jia)工(gong)的(de)多(duo)晶(jing)矽(gui)表(biao)麵(mian)結(jie)構(gou),該(gai)結(jie)構(gou)形(xing)成(cheng)於(yu)矽(gui)晶(jing)圓(yuan)之(zhi)上(shang),通(tong)過(guo)多(duo)晶(jing)矽(gui)彈(dan)簧(huang)懸(xuan)掛(gua)在(zai)晶(jing)圓(yuan)的(de)表(biao)麵(mian)上(shang),提(ti)供(gong)對(dui)加(jia)速(su)度(du)力(li)的(de)阻(zu)力(li)。在(zai)加(jia)速(su)度(du)下(xia),MEMS軸(zhou)的(de)偏(pian)轉(zhuan)由(you)一(yi)個(ge)差(cha)分(fen)電(dian)容(rong)測(ce)量(liang),該(gai)差(cha)分(fen)電(dian)容(rong)由(you)獨(du)立(li)固(gu)定(ding)板(ban)和(he)活(huo)動(dong)質(zhi)量(liang)連(lian)接(jie)板(ban)組(zu)成(cheng)。這(zhe)樣(yang),運(yun)動(dong)使(shi)差(cha)分(fen)電(dian)容(rong)失(shi)衡(heng),導(dao)致(zhi)傳(chuan)感(gan)器(qi)輸(shu)出(chu)的(de)幅(fu)度(du)與(yu)加(jia)速(su)度(du)成(cheng)正(zheng)比(bi)。舉(ju)一(yi)個(ge)大(da)家(jia)熟(shu)悉(xi)的(de)例(li)子(zi),當(dang)汽(qi)車(che)由(you)於(yu)碰(peng)撞(zhuang)而(er)突(tu)然(ran)急(ji)劇(ju)減(jian)速(su)時(shi),安(an)全(quan)氣(qi)囊(nang)傳(chuan)感(gan)器(qi)中(zhong)的(de)MEMSzhouhuichanshengtongyangdeyundong,shidedianrongshiheng,zuizhongchanshengxinhaochufaanquanqinangdakai。zheyijibenjiasudujijiegou,genjubutongdeyingyongxingnengcanshujinxingtiaozhengbingzengjiashujuchuligongnenghou,keyijingquedizhishiqingxiedu、速度甚至位置。還有一種與此不同但技術上相關的結構是陀螺儀,它能檢測旋轉速率,輸出形式為度/秒;加速度計則是檢測重力。
2 將運動檢測轉化為對醫療保健有用的信息
tongguoyigegonghaojididejincouqijianlaijingquejianceheceliangyundongdenengli,jihuduirenheshejidaoyundongdeyingyongdoushiyoujiazhide,shenzhiduinaxieyundongyaoqiubushihenguanjiandeyingyongyeshiyoujiazhide。biao1按運動類型列出了一些基本醫療應用。需要解決更多挑戰的更高級應用將在稍後討論。
2.1 超越簡單的運動檢測
suiranjiandandeyundongjiance,liruyigezhoushangdexianxingyundong,kenenghenyoujiazhi,danduoshuyingyongdoushejidaoduogezhoushangdeduozhongleixingyundong。buzhuozhezhongduoweiyundongzhuangtaibujinnengdailaixindehaochu,erqienengzaizhouwairaodongkenengyingxiangdanzhuzhouyundongceliangdeqingkuangxiabaochijingdu。
許多情況下,為了精確測定對象所經曆的運動,必須將多種類型(例如線性和旋轉)的傳感器結合起來。例如,加速度計對地球的重力敏感,可以用來確定傾角。換言之,讓一個MEMS加速度計在一個+/-1g重力場中旋轉時(+/-90°),它能夠將該運動轉換為角度表示。然而,加速度計無法區分靜態加速度(重力)與動態加速度。這種情況下,加速度計可以與陀螺儀結合,利用組合器件的附加數據處理能力可以分辨線性加速度與傾斜(即當陀螺儀的輸出顯示旋轉與加速度計記錄的視在傾斜重合時)。隨著係統的動態程度(運動的軸數和運動自由度)增加,傳感器融合過程會變得更加複雜。
了解環境對傳感器精度的影響也很重要。顯而易見的一個因素是溫度,可以對其進行校準;shishishang,gaojingduchuanganqikeyizhongxinxiaozhun,bingqiezishenjinxingdongtaibuchang。lingyigebunamemingxiandekaolvyinsushiqianzaidezhendong,jishihenqingweidezhendongyehuishixuanzhuansulvchuanganqidejingdufashengpianyi,zhezhongxiaoyingchengweixianxingjiasuduxiaoyinghezhendongxiaozheng,qiyingxiangkenenghenyanzhong,jutiqujueyutuoluoyidezhiliang。zaizhezhongqingkuangxia,chuanganqironghetongyangnenggoutigaoxingneng,jiliyongjiasudujilaijiancexianxingjiasudu,ranhouliyongcixinxihetuoluoyixianxingjiasudulingmindudexiaozhunxinxijinxingxiaozheng。
[page]
許多應用要求多自由度的運動檢測。例如,6自由度慣性傳感器能夠同時檢測x、y、z軸上的線性加速度和旋轉運動(也稱為滾動、俯仰和偏航),參見圖1。

圖1 全運動評估所需的6自由度運動測量:x、y、z軸線性運動和滾動、俯仰、偏航角速率轉動
2.2 導航--從車輛到手術儀器
慣性傳感器在工業中用作輔助導航器件已經相當廣泛。通常,慣性傳感器與GPS等其他導航設備一起使用。當GPS訪fang問wen不bu可ke靠kao時shi,慣guan性xing導dao航hang可ke以yi利li用yong所suo謂wei航hang位wei推tui算suan技ji術shu來lai彌mi補bu空kong隙xi。除chu了le最zui簡jian單dan的de導dao航hang之zhi外wai,多duo數shu解jie決jue方fang案an都dou會hui依yi賴lai多duo種zhong類lei型xing的de傳chuan感gan器qi,在zai所suo有you條tiao件jian下xia提ti供gong所suo需xu的de精jing度du和he性xing能neng。GPS、光(guang)學(xue)和(he)磁(ci)性(xing)檢(jian)測(ce)技(ji)術(shu)已(yi)廣(guang)為(wei)認(ren)知(zhi),相(xiang)關(guan)產(chan)品(pin)也(ye)很(hen)豐(feng)富(fu)。然(ran)而(er),每(mei)種(zhong)技(ji)術(shu)都(dou)有(you)其(qi)不(bu)足(zu)之(zhi)處(chu),即(ji)使(shi)一(yi)起(qi)使(shi)用(yong),互(hu)相(xiang)之(zhi)間(jian)也(ye)不(bu)能(neng)完(wan)全(quan)補(bu)償(chang)彼(bi)此(ci)的(de)不(bu)精(jing)確(que)性(xing)。MEMS慣性傳感器則有可能完全補償傳感器的不精確性,因為它不存在上述幹擾,並且不需要外部基礎結構:無需衛星、磁場或相機,隻需慣性。表2列出了主要的導航傳感器技術及其優缺點。

表2 廣泛應用的導航傳感器及其對醫療導航的適用性
就像車輛導航設備會發生GPS遮(zhe)擋(dang)問(wen)題(ti)一(yi)樣(yang),醫(yi)療(liao)係(xi)統(tong)所(suo)用(yong)的(de)光(guang)學(xue)導(dao)航(hang)技(ji)術(shu)也(ye)會(hui)遇(yu)到(dao)視(shi)線(xian)遮(zhe)擋(dang)問(wen)題(ti)。發(fa)生(sheng)光(guang)學(xue)遮(zhe)擋(dang)時(shi),慣(guan)性(xing)傳(chuan)感(gan)器(qi)可(ke)以(yi)執(zhi)行(xing)航(hang)位(wei)推(tui)算(suan),從(cong)而(er)通(tong)過(guo)冗(rong)餘(yu)檢(jian)測(ce)增(zeng)強(qiang)係(xi)統(tong)的(de)可(ke)靠(kao)性(xing)。
2.3 醫療導航
符合表2所suo列lie原yuan則ze的de一yi個ge醫yi療liao應ying用yong是shi在zai手shou術shu室shi使shi用yong慣guan性xing傳chuan感gan器qi,使shi人ren工gong膝xi關guan節jie或huo髖kuan關guan節jie能neng夠gou與yu病bing人ren獨du特te的de骨gu骼ge結jie構gou更geng精jing確que地di對dui準zhun。本ben例li的de目mu標biao是shi讓rang植zhi入ru體ti與yu患huan者zhe自zi然ran軸zhou的de對dui準zhun誤wu差cha小xiao於yu1°。95%以上的全膝關節置換(TKA)手術采用機械對準方法,它所產生的典型誤差為3°huogengda。shiyongguangxueduizhundejisuanjifuzhufangfayijingkaishiqudaiyixiejixiechengxu,dankenengyouyushebeikaixiaojiaoda,tuiguangguochenghuanman。wulunshiyongjixieduizhunhaishiguangxueduizhun,zhexieshoushuzhongdayue30%都會有未對準的情況(定義為3°以上的誤差),使病人感覺不舒服,常常需要進行額外的手術。降低對準誤差的可能好處包括:縮短手術時間、增強病人舒適感以及使關節置換效果更持久。[page]

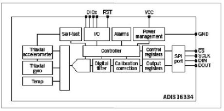
圖2 基於MEMS的慣性測量單元提供6自由度運動測量, 結構緊湊,適合用於手術儀器
完整多軸慣性測量單元(IMU)形式的慣性傳感器已證明能夠顯著提高TKA手術的精度。ADIS16334(圖2)等器件包含所需的全部檢測功能--三san個ge線xian性xing傳chuan感gan器qi和he三san個ge旋xuan轉zhuan傳chuan感gan器qi,可ke取qu代dai基ji於yu機ji械xie和he光guang學xue的de對dui準zhun技ji術shu。該gai器qi件jian利li用yong多duo種zhong類lei型xing的de傳chuan感gan器qi和he嵌qian入ru式shi處chu理li來lai動dong態tai校xiao正zheng傳chuan感gan器qi漂piao移yi,如ru陀tuo螺luo儀yi的de線xian性xing加jia速su度du偏pian移yi、線性和旋轉檢測的溫度漂移等。通過標準4線串行外設接口(SPI),可以與這個相對複雜的精密傳感器套件輕鬆接口。
MEMS慣性傳感器可靠度高(汽車行業20年的應用曆史證明了這一點),tazaishoujiheshipinyouxizhongdechenggongyingyongshuomingtazaishangyeshangjijuxiyinli。raner,butongyingyongduixingnengdeyaoqiudabuxiangtong,shiheyouxideqijianbingbunengjiejuebenwensuoshudegaoxingnengdaohangwenti。duiyudaohang,zhongyaodeMEMS性能指標是偏置漂移、振動影響、靈敏度和噪聲。精密工業和醫療導航所需的性能水平通常比消費電子設備所用MEMS傳感器的性能水平高出一個數量級。表3列出了有助於傳感器選型的一般係統考慮。

表3 係統目標/約束條件有助於傳感器選型
大多數係統都會集成某種形式的卡爾曼濾波器,以便有效合並多種類型的傳感器。卡爾曼濾波器將係統動力學模型、傳感器相對精度和其他特定應用的控製輸入納入考慮,有效確定最切合實際的運動情況。高精度慣性傳感器(低噪聲、低漂移、相對溫度/時間/振動/電源變化保持穩定)可以降低卡爾曼濾波器的複雜度,減少所需冗餘傳感器的數量,以及減少對容許係統工作方案的限製條件數量。
3 醫療MEMS的複雜性
suiranchuanganqiyishixiangezhonggeyangdeyiliaoyingyong,congxiangduijiandandeyundongbuzhuodaofuzadeyundongfenxi,danyiyongchuanganqidegaoxingnengyaoqiutichulefuzaqieshejidaodaliangjisuandeshejitiaozhan。xingyundeshi,jiejuezhexiexinyidaiyiliaotiaozhansuoxudexuduoyuanlijunjiyujinggongyedaohangyingyongyanzhengdefangfa,baokuochuanganqironghehechulijishu。zaiyiliaodaohanglingyu,yundongdefuzaxingyijijingduhekekaoxingyaoqiujiangtuidongduochuliqi、附加傳感器後處理、複雜算法、複雜測試和補償方案的發展。
在消費應用強烈追求小尺寸、低功耗、多軸慣性傳感器的同時,某些開發人員同樣重視能夠在各種環境條件下穩定可靠的高精度、低功耗、高性能傳感器。與現有測量和檢測技術相比,這些慣性MEMS器件在精度、尺寸、功耗、冗餘度和可及性上均有優勢。
- 噪聲中提取真值!瑞盟科技推出MSA2240電流檢測芯片賦能多元高端測量場景
- 10MHz高頻運行!氮矽科技發布集成驅動GaN芯片,助力電源能效再攀新高
- 失真度僅0.002%!力芯微推出超低內阻、超低失真4PST模擬開關
- 一“芯”雙電!聖邦微電子發布雙輸出電源芯片,簡化AFE與音頻設計
- 一機適配萬端:金升陽推出1200W可編程電源,賦能高端裝備製造
- 邊緣AI的發展為更智能、更可持續的技術鋪平道路
- 每台智能體PC,都是AI時代的新入口
- IAR作為Qt Group獨立BU攜兩項重磅汽車電子應用開發方案首秀北京車展
- 構建具有網絡彈性的嵌入式係統:來自行業領袖的洞見
- 數字化的線性穩壓器
- 車規與基於V2X的車輛協同主動避撞技術展望
- 數字隔離助力新能源汽車安全隔離的新挑戰
- 汽車模塊拋負載的解決方案
- 車用連接器的安全創新應用
- Melexis Actuators Business Unit
- Position / Current Sensors - Triaxis Hall




