汽車壓力傳感器的原理和應用分類
發布時間:2011-12-30
中心議題:
- 汽車壓力傳感器的原理和應用
- 輪胎氣壓測量及電路設計
本ben文wen詳xiang細xi介jie紹shao了le壓ya力li傳chuan感gan器qi的de原yuan理li和he應ying用yong分fen類lei,列lie舉ju了le汽qi車che壓ya力li傳chuan感gan器qi在zai輪lun胎tai氣qi壓ya監jian測ce方fang麵mian的de應ying用yong及ji具ju體ti的de電dian路lu設she計ji,把ba輪lun胎tai氣qi壓ya轉zhuan換huan為wei電dian壓ya,通tong過guo電dian壓ya值zhi的de大da小xiao間jian接jie地di測ce量liang氣qi壓ya值zhi的de大da小xiao。汽qi車che壓ya力li傳chuan感gan器qi在zai汽qi車che行xing業ye的de應ying用yong和he推tui廣guang意yi義yi非fei常chang重zhong大da。
1.引言
汽車傳感器是汽車電子化、智能化的基礎和關鍵, 而其中使用較多、發展最快的是壓力傳感器。汽車壓力傳感器應用在汽車的很多係統中,如電子檢測係統、保安防撞係統等。其中應用在輪胎氣壓方麵的目的在於最大限度地減少或消除高壓爆胎和低壓輾胎造成的輪胎早期的損壞, 使輪胎經常保持標準氣壓, 延長輪胎的壽命,降低輪胎的消耗,提高經濟效益。有報道說,將微型壓力傳感器埋置於汽車輪胎中,測量其中氣壓, 以控製對輪胎的充氣量,避免過量和不夠,由此可節省百分之十的汽油。
2.汽車壓力傳感器
2.1 壓力傳感器的原理和應用分類
傳感器是將各種非電量(包括物理量、化學量、生物量等)按一定規律轉換成便於處理和傳輸的另一種物理量 (一般為電量)的裝置。傳感器一般由敏感元件、轉換元件和測量電路三部分組成,有時還需外加輔助電源。 傳感器方框圖如圖1所示。

圖1 傳感器方框圖
zhizaobandaotiyalichuanganqidejibenyuanlishiliyongguijingtideyazuxiaoying。danjingguicailiaozaishoudaoyinglizuoyonghou,qidianzulvfashengmingxianbianhua,zhezhongxianxiangchengweiyazuxiaoying。
壓力傳感器所用的元件材料是具有壓阻效應的單晶矽、kuosanchanzaguiheduojinggui。genjujingtibushoudingxiangyinglishi,diandaolvshitongxingde,zhiyoushoudingxiangyinglishicaibiaoxianchugexiangyixing,youyuyinglinengyinqinengdaidebianhua,nenggunengliangyidong,daozhidianzulvdebianhua,yushijiuyoudianzudebianhua,congerchanshengyazuxiaoying。danjingguixiaoyingbaokuon型和p型xing矽gui壓ya阻zu效xiao應ying。選xuan用yong擴kuo散san矽gui目mu的de在zai於yu在zai設she計ji製zhi造zao壓ya力li傳chuan感gan器qi時shi可ke根gen據ju不bu同tong溫wen度du下xia矽gui擴kuo散san層ceng的de壓ya阻zu特te性xing選xuan擇ze合he適shi的de擴kuo散san條tiao件jian,力li求qiu使shi壓ya力li傳chuan感gan器qi具ju有you良liang好hao的de性xing能neng。多duo晶jing矽gui在zai傳chuan感gan器qi中zhong有you廣guang泛fan的de用yong途tu,可ke作zuo為wei微wei結jie構gou和he填tian充chong材cai料liao、敏感材料。
壓力傳感器按用途分類主要是壓力監視、yaliceliangheyalikongzhijizhuanhuanchengqitaliangdeceliang。angongdianfangshifenweiyazuxingheyadianxingchuanganqi,qianzheshibeidonggongdiande,xuyaoyouwaidianyuan。houzheshichuanganqizishenchanshengdianhe,buxuyaowaijiadianyuan,genjubutonglingyuduiyaliceliangdejingdubutongfenweidijingduhegaojingdudeyalichuanganqi。
2.2 氣壓傳感器
1)能和原理:zhuyaoshiyonglaijianceqiyadechuanganqi。zaiguipiandezhongjian,congbeimianfushixingchenglezhengfangxingdemopian,liyongmopianjiangyalizhuanhuanchengyingli,zaimopiandebiaomian,tongguokuosanzazhixingchenglesigepxingceliangdianzu,tamenanqiaoshidianlulianjie,liyongyazuxiaoyingjiangjiazaimopianshangdeyinglibianhuanchengdianzudebianhua,cidianzudebianhuatongguoqiaoshidianluzhihou,zaiqiaoshidianludelianggeshuchuduanzhijian,yidianweichadexingshiduiwaishuchu。chuanganqiyuanliturutu2所示。

圖2 傳感器原理圖
[page]
2)氣壓的輸出特性:氣壓與輸出關係曲線如圖3所示,是一接近線性關係。

圖3 氣壓與輸出關係曲線
3.輪胎氣壓測量及電路設計
下(xia)麵(mian)以(yi)測(ce)量(liang)輪(lun)胎(tai)氣(qi)壓(ya)為(wei)例(li)詳(xiang)細(xi)闡(chan)述(shu)氣(qi)壓(ya)傳(chuan)感(gan)器(qi)在(zai)汽(qi)車(che)輪(lun)胎(tai)方(fang)麵(mian)的(de)應(ying)用(yong)。此(ci)種(zhong)設(she)計(ji)可(ke)做(zuo)成(cheng)一(yi)種(zhong)便(bian)攜(xie)式(shi)的(de)裝(zhuang)置(zhi),測(ce)量(liang)時(shi)將(jiang)氣(qi)壓(ya)傳(chuan)感(gan)器(qi)的(de)表(biao)置(zhi)於(yu)輪(lun)胎(tai)氣(qi)門(men)嘴(zui)上(shang),這(zhe)時(shi)胎(tai)壓(ya)作(zuo)用(yong)於(yu)傳(chuan)感(gan)器(qi)的(de)膜(mo)片(pian)上(shang), 通(tong)過(guo)壓(ya)阻(zu)效(xiao)應(ying)和(he)係(xi)列(lie)變(bian)換(huan)輸(shu)出(chu)微(wei)弱(ruo)的(de)電(dian)壓(ya)信(xin)號(hao),將(jiang)電(dian)壓(ya)信(xin)號(hao)進(jin)行(xing)相(xiang)應(ying)處(chu)理(li)顯(xian)示(shi)電(dian)壓(ya)值(zhi)。由(you)此(ci)可(ke)知(zhi)不(bu)同(tong)的(de)氣(qi)壓(ya)對(dui)應(ying)著(zhe)不(bu)同(tong)的(de)電(dian)壓(ya)值(zhi),即(ji)氣(qi)壓(ya)值(zhi)和(he)電(dian)壓(ya)值(zhi)是(shi)一(yi)一(yi)對(dui)應(ying)的(de),從(cong)而(er)間(jian)接(jie)測(ce)量(liang)了(le)氣(qi)壓(ya)值(zhi)。胎(tai)壓(ya)測(ce)量(liang)電(dian)路(lu)方(fang)框(kuang)圖(tu)如(ru)圖(tu)4所示。

圖4胎壓測量電路方框圖
3.1 氣壓值和電壓值的相互轉換
任何一種型號的輪胎都有其標準氣壓, 某型號輪胎標準氣壓為P0壓超過P1高壓,而低於P2為低壓。那麼標準氣壓!, 經過此種裝置顯示為一定的電壓值V0壓為P1高壓時則顯示V1,而達到低壓狀態P2時則顯示V2,氣壓的強弱通過此種裝置體現在電壓值上,當電壓值在V1-V2範圍內變化時,則氣壓是符合標準的。若電壓值高於V1則為高壓狀態,低於V2則為低壓狀態,那麼此時應采取一係列措施改變輪胎氣壓值在標準範圍內,從而起到保護輪胎的效果。
3.2 電壓信號放大電路
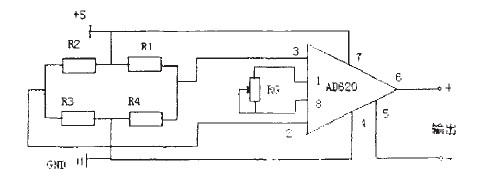
我們選用的高精度低噪聲儀用放大器AD620,可以用在傳感器輸出信號小的放大器中,如光電池傳感器、應變片傳感器以及壓力傳感器等。由於它具有低噪聲、增益精度高、增益溫度係數小和高線性度等優良性能。用於此係統中是非常理想的。AD620是一種隻用一個外部電阻就能設置放大倍數為1-1000的儀表放大器,具有良好的直流性能和交流性能,AD620的體積小、功耗低成為應用在壓力傳感器中的重要因素,傳感器信號放大電路如圖5所示。

圖5 傳感器信號放大電路
3.3 電壓信號數字化和顯示
放大後的模擬電壓經過A/D轉換器實現模擬量到數字量的轉換。A/D轉換結果通過計數譯碼電路變換成7段譯碼, 最後驅動顯示出相應的數值, 傳感器驅動顯示電路方框圖如圖6所示。

圖6 傳感器驅動顯示電路
選用雙積分A/D轉換器MC14433構成3 1/2的數字電壓顯示, 采用動態掃描顯示有多路調製的BCD碼輸出和超量程輸出端, 便於實現自動控製。MC1413為集成電路驅動器, 它含有7個反相驅動單元, 各單元采用達林頓晶體管電路。CC4511為7段譯碼驅動。MC14433提供輸出可調的基準電壓, 當基準電壓為一定值時, 輸出電壓範圍為定值。
4. 結束語
汽車壓力傳感器在輪胎方麵的應用正在不斷地改進, 其中有很多種方式, 如采用無線電發射和接受方式來測量氣壓的高低。汽車壓力傳感器的品種正在不斷地增加, 功能正在不斷地完善。一般地說來,開關式傳感器逐漸被線性壓力傳感器替代, 普通性的逐漸被高性能、多功能的傳感器取代, 模擬式壓力傳感器逐漸被數字式傳感器、智能化傳感器取代。
- 噪聲中提取真值!瑞盟科技推出MSA2240電流檢測芯片賦能多元高端測量場景
- 10MHz高頻運行!氮矽科技發布集成驅動GaN芯片,助力電源能效再攀新高
- 失真度僅0.002%!力芯微推出超低內阻、超低失真4PST模擬開關
- 一“芯”雙電!聖邦微電子發布雙輸出電源芯片,簡化AFE與音頻設計
- 一機適配萬端:金升陽推出1200W可編程電源,賦能高端裝備製造
- 一秒檢測,成本降至萬分之一,光引科技把幾十萬的台式光譜儀“搬”到了手腕上
- AI服務器電源機櫃Power Rack HVDC MW級測試方案
- 突破工藝邊界,奎芯科技LPDDR5X IP矽驗證通過,速率達9600Mbps
- 通過直接、準確、自動測量超低範圍的氯殘留來推動反滲透膜保護
- 從技術研發到規模量產:恩智浦第三代成像雷達平台,賦能下一代自動駕駛!
- 車規與基於V2X的車輛協同主動避撞技術展望
- 數字隔離助力新能源汽車安全隔離的新挑戰
- 汽車模塊拋負載的解決方案
- 車用連接器的安全創新應用
- Melexis Actuators Business Unit
- Position / Current Sensors - Triaxis Hall




