解讀ADF4350的調試過程
發布時間:2014-09-03 責任編輯:echolady
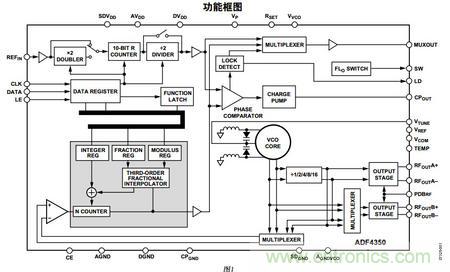
所有片內寄存器均通過簡單的三線式接口進行控製。 該器件采用3.0 V至3.6 V電源供電,不用時可以關斷。功gong能neng圖tu如ru下xia,懂dong鎖suo相xiang環huan的de請qing仔zai細xi品pin讀du。不bu懂dong的de可ke以yi直zhi接jie忽hu略lve掉diao,這zhe裏li樓lou主zhu我wo用yong它ta來lai產chan生sheng一yi個ge高gao頻pin的de信xin號hao去qu調tiao製zhi一yi個ge低di頻pin的de信xin號hao源yuan,然ran後hou讓rang這zhe信xin號hao去qu充chong當dang一yi個ge很hen高gao大da上shang的de東dong西xi的de時shi鍾zhong,這zhe裏li產chan生sheng的de信xin號hao時shi1G。

圖1:功能框圖
這個片子內部資料原理可能需要去仔細品讀。但是時序卻是普通的SPI。一般人都能把他寫出來。但是這裏仔細看PDF會發現有BUG。我始終隻看到write operation。 卻沒有發現有read operation,可能是自己對於SPI不夠很深入的了解吧。或者PDF根本沒有給出如何去read。看時序你就發現。

圖2:SPI時序圖
另外此chip有6個寄存器,分別可以設置他的相關參數。包括reference、vco的分頻以及power。這裏可以在官網下載一個關於4350的soft。隻需把需要的參數輸進去,寄存器能夠自行進行配置。原理圖如下:

圖3:原理圖
這裏采用的MCU為MSP430 LAUNCHPAD.4線控製。分別為:clk,data,le,pd.LDshisuodingjiao。ruguopinlvmeiyousuodingcijiaohuishuchudidianping。zhiyousuodinglecaihuishuchugao。suoyitiaoshishihouxiazaichengxuzhihoukeyixianjiancezhejiaoshibushiweigao。zhelizhegehenzhongyao。另外晶振采用的10M。有源的。不能太高,太高了當時用的一個12V恒溫晶振效果沒出來(這裏可能不是那個恒溫晶振的問題,可能也是那板子的問題)。
調試心得:一般的示波器看不到波形的,這個輸出最低200M,示波器的采樣率一般也就1G或者2G。是不能看到200M及1G的信號的,我用的那個就是60M的。當時還以為又出問題了。為何LD鎖定了輸出高電平但是卻看到的信號始終為0,後來不知怎麼的突然看到示波器上麵的標注。才想起用的頻譜儀!下麵是頻譜儀的圖片。

圖4:頻譜儀
相關閱讀:
ADF4350:ADI內置片上低噪聲VCO的鎖相環
泰克推出發射器和接收器一致性與調試測試套件
養成使用示波器的好習慣,調試神馬的都是小case
- 噪聲中提取真值!瑞盟科技推出MSA2240電流檢測芯片賦能多元高端測量場景
- 10MHz高頻運行!氮矽科技發布集成驅動GaN芯片,助力電源能效再攀新高
- 失真度僅0.002%!力芯微推出超低內阻、超低失真4PST模擬開關
- 一“芯”雙電!聖邦微電子發布雙輸出電源芯片,簡化AFE與音頻設計
- 一機適配萬端:金升陽推出1200W可編程電源,賦能高端裝備製造
- 邊緣AI的發展為更智能、更可持續的技術鋪平道路
- 每台智能體PC,都是AI時代的新入口
- IAR作為Qt Group獨立BU攜兩項重磅汽車電子應用開發方案首秀北京車展
- 構建具有網絡彈性的嵌入式係統:來自行業領袖的洞見
- 數字化的線性穩壓器
- 車規與基於V2X的車輛協同主動避撞技術展望
- 數字隔離助力新能源汽車安全隔離的新挑戰
- 汽車模塊拋負載的解決方案
- 車用連接器的安全創新應用
- Melexis Actuators Business Unit
- Position / Current Sensors - Triaxis Hall




