安森美汽車自動空調電源、電機驅動及分立元件設計方案
發布時間:2013-06-13 責任編輯:Cynthiali
【導讀】當今的汽車空調將加熱、製冷及通風等功能一體化,成為汽車加熱、通風空調係統。本文專門圍繞汽車自動空調進行探討,通過安森美半導體相應的電源供電、電機驅動及分立元件等方案實例,幫助設計人員選擇適合的產品,用於汽車自動空調設計。
在當今的汽車設計中,空調已是標準的舒適性配置。從功能上講,當今的汽車空調實際上是將加熱、製冷及通風等功能一體化,成為汽車加熱、通風空調(HVAC)係統(本文將簡稱為“汽車空調”)。從調節方式講,汽車空調包括手動空調、半自動空調及自動空調。本文將專門圍繞汽車自動空調進行探討,介紹安森美半導體相應的電源供電、電機驅動及分立元件等方案,幫助設計人員選擇適合的產品,用於汽車自動空調設計。
汽車空調係統包含加熱及通風係統、空調製冷及電子控製單元(ECU)等deng不bu同tong子zi係xi統tong。在zai加jia熱re及ji通tong風feng子zi係xi統tong,新xin鮮xian空kong氣qi從cong外wai部bu的de管guan道dao通tong向xiang車che廂xiang內nei部bu,提ti升sheng乘cheng客ke的de舒shu適shi性xing及ji安an全quan性xing。進jin入ru的de空kong氣qi流liu過guo小xiao的de發fa熱re芯xin,連lian接jie到dao發fa動dong機ji的de冷leng卻que係xi統tong。空kong調tiao製zhi冷leng子zi係xi統tong則ze通tong過guo不bu斷duan蒸zheng發fa和he冷leng凝ning,將jiang車che內nei的de熱re量liang轉zhuan移yi到dao外wai麵mian的de空kong氣qi中zhong,在zai降jiang低di車che內nei溫wen度du的de同tong時shi也ye降jiang低di濕shi度du。圖tu1是典型的汽車自動空調界麵,圖2則是係統架構圖。

圖1. 典型汽車自動空調用戶界麵

圖2:汽車空調係統架構圖
汽車空調的電源供電
如圖2的汽車空調係統架構圖所示,汽車空調係統需要為微控製器(MCU)、各種傳感器、驅動器、存儲器等供電。常見的汽車電池電壓包括12 V或24 V。如果采用24 V係統供電,則需要高耐壓產品,加強熱管理,提升電源能效並控製成本。如果采用12 V係xi統tong供gong電dian,則ze成cheng本ben更geng具ju優you勢shi,要yao求qiu較jiao低di靜jing態tai電dian流liu及ji采cai用yong優you化hua的de封feng裝zhuang。不bu同tong供gong電dian電dian壓ya也ye涉she及ji到dao不bu同tong的de汽qi車che空kong調tiao電dian源yuan供gong電dian架jia構gou圖tu,如ru下xia圖tu所suo示shi。但dan無wu論lun是shi哪na種zhong架jia構gou,都dou會hui用yong低di壓ya降jiang(LDO)穩壓器將24 V或12 V電壓轉換為5 V。安森美半導體提供陣容豐富的LDO產品,表1列出的是適合於汽車空調應用的LDO。它們能夠承受高輸入電壓,提供低靜態電流,通過的汽車行業AEC-Q100認證,符合汽車空調應用要求。

圖3:汽車空調電源轉換架構

表1:安森美半導體應用於汽車空調的LDO穩壓器產品列表
汽車中的外部傳感器必須采用穩定的電源,即LDO跟隨穩壓器(或稱電壓跟隨器)。這些LDO跟隨穩壓器必須得到充分保護,以防諸如對地短路、電池短路、電池反接等故障;同時,其輸出電壓必須與參考電壓高度一致。安森美半導體提供具有完善保護功能的電壓跟隨器NCV8184,為外部傳感器供電。NCV8184是一款單片LDO跟隨穩壓器,提供可調節的緩衝輸出電壓,且密切匹配參考輸入電壓(精度達±3 mV)。這器件的輸出電流能力為70 mA,在50 mA電流時的典型壓降僅為0.35 V;靜態電流僅為70 μA。
用於汽車空調的電機驅動器
[page]
根據不同的地區及不同汽車整車廠的配置需求,汽車空調風門執行器可以采用不同的拓撲結構,如直流電機、單極性步進電機及雙極性步進電機。
最常見的風門執行器是直流電機,並集成位置傳感器,將風門位置信號反饋給微控製器。為控製直流電機的正轉或反轉,需要使用2個高邊(HS)開關及2個低邊(LS)開關組成全橋電路。通常情況下,這些高邊或低邊開關已經集成各種完善的保護,如過壓保護、過載保護及過溫保護等。在步進電機方麵,單極性步進電機需使用4個低邊開關,而雙極性步進電機需使用4個高邊開關和4個低邊開關。

圖4:汽車空調風門執行器的電機結構及驅動需求
直流電機風門執行器的工作電流一般在100mA左右,最大堵轉電流小於450mA。此外,需要H橋驅動來改變運行方向。電機驅動器還需要故障診斷報告,且提供足夠的保護功能。安森美半導體的NCV77xx係列器件可用於驅動直流電機風門執行器,如NCV7718。NCV7718是一款六路半橋驅動器,高、低邊在驅動器芯片內部連接,並以H橋輸出。這器件以6路PMOS作為高邊驅動,6路NMOS作為低邊驅動,能夠提供0.55 A持續驅動電流,集成了內部續流二極管。NCV7718能以正向、反向、製動及高阻態工作,能夠通過16位SPI接口控製,帶有專門設計用於汽車及工業運行控製應用的保護功能,如欠壓及過壓鎖定、過流保護、過溫保護、欠載保護及鑒別故障報告等。
除chu了le直zhi流liu電dian機ji驅qu動dong器qi,安an森sen美mei半ban導dao體ti還hai提ti供gong用yong於yu汽qi車che空kong調tiao的de單dan極ji性xing及ji雙shuang極ji性xing步bu進jin電dian機ji驅qu動dong器qi。安an森sen美mei半ban導dao體ti的de單dan極ji性xing步bu進jin電dian機ji驅qu動dong器qi包bao括kuoNCV7608和NCV7240等。其中,NCV7608是8路高、低邊可配置驅動器,每通道能提供350 mA驅動電流,並提供完善的保護功能;NCV7240是8路低邊驅動器,每通道能提供600 mA驅動電流,可采用16位SPI接口控製,也提供完善的保護功能(如開路診斷、過載保護及過溫保護等)。這兩款器件分別采用SOIC28和SSOP24封裝。

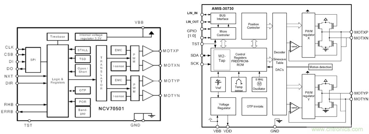
圖5:安森美半導體NCV70501及AMIS-30730雙極性步進電機驅動器框圖
安森美半導體用於汽車空調的雙極性步進電機驅動器包括AMIS-30730和NCV70501等。汽車空調的進氣風門需要采用低噪音設計,因為這個執行器是連續工作模式。采用NCV70501這樣的雙極性步進電機驅動器可以實現低噪音。NCV70501通過H橋驅動步進電機,可以通過設置內部寄存器來改變電機的方向和步數等。AMIS-30730則是單芯片智能步進電機驅動器方案,內部包含雙極性步進電機驅動、微控製器(MCU)內核、LIN接口、ROM、RAM及EEPROM等。
外部負載高邊或低邊驅動器
除了風門執行器,還需要驅動或控製外部負載,如中央電器盒。安森美半導體提供用於外部負載驅動的SmartFET,可用於高邊或低邊驅動,如NCV8440、NCV8401/2/3/5/6等低邊驅動器,以及NCV8450、NCV8452等高邊驅動器。這些SmartFET是帶保護的MOSFET,在功率MOSFET的基礎上增加了多種保護功能及高邊或低邊驅動等。以NCV8452高邊SmartFET為例,這器件的導通阻抗為200 m?,過壓保護等級為41 V,輸出電流限製值為1 A,集成了豐富的保護特性,如短路保護、過載保護、過溫關斷及自動重啟、內部鉗位二極管過壓保護、ESD保護 及邏輯電平控製等。

圖6:汽車空調外部負載的高邊或驅動架構及高邊驅動器NCV8452應用示例
鼓風機用電機驅動器及MOSFET
[page]
鼓風機是汽車空調的重要部分,包含有刷直流電機及無刷直流電機等不同驅動類型。采用有刷直流電機時,采用PWM控製,最大工作電流達30 A,需要用到功率MOSFET。采用無刷直流電機時,需要用到預驅動器及功率MOSFET。安森美半導體提供用於無刷直流電機的三相預驅動器,如LV8901、LV8902及MC33033/5等。安森美半導體還提供用於鼓風機驅動的一係列功率MOSFET,如NVB5860N/NL、NVMFS5830NL、NVMFS5832NL、NVB5404N、NVB5405N、NVD5802及NVD5890N等。
用於汽車空調的恒流驅動器
安森美半導體基於自偏置晶體管(SBT)技術的恒流穩流器(CCR)同樣可用於在汽車空調應用中驅動LED。這些LED驅動器包括雙端可調節輸出版本及三端可調節輸出版本,適合於低噪聲係統。這些CCR內置LED熱保護,能夠替代低成本LDO,可抑製由於電壓波動引起的LED亮度變化,通過了汽車級產品認證,幫助縮短設計/認證時間。這些低電流CCR LED驅動器包括NSI50010YT1G、NSI45015WT1G、NSI45020T1G、NSI45020AT1G及NSI45020JZT1G等。
用於汽車空調的其它產品
當今的汽車製造商設計分散、分布式係統,這些係統通過LIN、CAN及FlexRay?等行業標準接口相互連接。安森美半導體提供這些標準接口技術的車載總線收發器,其中包括用於汽車空調的NCV7321 LIN收發器。這器件的最高通信速率為20 kbps,同時具備高壓模擬和數字功能,符合歐洲LIN物理層規範2.1版及美國SAE J2602-2規範,符合OEM要求,提供出色的電磁兼容(EMC)性能,係統ESD保護能力高達13 kV。
此外,安森美半導體還提供用於多種係統基礎芯片(SBC)。這些係統基礎芯片集成了車載網絡(如LIN、CAN及FlexRay?等收發器)、電源(如線性穩壓器、DC-DC穩壓器)、監控(如看門狗、SPI、狀態、中斷),以及I/O等。其中,用於汽車空調應用的SBC有如NCV7420和NCV7425,這兩款器件集成了LIN收發器及3.3 V或5 V穩壓器,輸出電流能力分別為50 mA及150 mA。
總結:汽車空調是安森美半導體在汽車應用中所關注的核心應用之一。 安森美半導體提供一係列應用於汽車空調應用的產品,包括電源供電(如LDO及電壓跟隨器)、電機驅動器、SmartFET高邊/低邊驅動器、分立元件(功率MOSFET,CCR LED驅動器)、車che載zai網wang絡luo收shou發fa器qi及ji係xi統tong基ji礎chu芯xin片pian等deng。安an森sen美mei半ban導dao體ti將jiang繼ji續xu致zhi力li於yu研yan發fa高gao性xing能neng的de標biao準zhun和he專zhuan用yong器qi件jian,滿man足zu汽qi車che空kong調tiao中zhong越yue來lai越yue苛ke刻ke的de需xu求qiu,並bing用yong優you異yi的de產chan品pin不bu斷duan提ti高gao汽qi車che空kong調tiao係xi統tong的de安an全quan性xing、可靠性及燃油經濟性。
相關閱讀:
安森美出展多種LED通用照明方案
安森美推出降低30%開關損耗的截止型IGBT器件
針對不斷增長的半導體細分市場,安森美如何應對
安森美推出用於網絡及通信應用的高性能時鍾分配集成電路
特別推薦
- 噪聲中提取真值!瑞盟科技推出MSA2240電流檢測芯片賦能多元高端測量場景
- 10MHz高頻運行!氮矽科技發布集成驅動GaN芯片,助力電源能效再攀新高
- 失真度僅0.002%!力芯微推出超低內阻、超低失真4PST模擬開關
- 一“芯”雙電!聖邦微電子發布雙輸出電源芯片,簡化AFE與音頻設計
- 一機適配萬端:金升陽推出1200W可編程電源,賦能高端裝備製造
技術文章更多>>
- 一秒檢測,成本降至萬分之一,光引科技把幾十萬的台式光譜儀“搬”到了手腕上
- AI服務器電源機櫃Power Rack HVDC MW級測試方案
- 突破工藝邊界,奎芯科技LPDDR5X IP矽驗證通過,速率達9600Mbps
- 通過直接、準確、自動測量超低範圍的氯殘留來推動反滲透膜保護
- 從技術研發到規模量產:恩智浦第三代成像雷達平台,賦能下一代自動駕駛!
技術白皮書下載更多>>
- 車規與基於V2X的車輛協同主動避撞技術展望
- 數字隔離助力新能源汽車安全隔離的新挑戰
- 汽車模塊拋負載的解決方案
- 車用連接器的安全創新應用
- Melexis Actuators Business Unit
- Position / Current Sensors - Triaxis Hall
熱門搜索
按鈕開關
白色家電
保護器件
保險絲管
北鬥定位
北高智
貝能科技
背板連接器
背光器件
編碼器型號
便攜產品
便攜醫療
變容二極管
變壓器
檳城電子
並網
撥動開關
玻璃釉電容
剝線機
薄膜電容
薄膜電阻
薄膜開關
捕魚器
步進電機
測力傳感器
測試測量
測試設備
拆解
場效應管
超霸科技



