雙向可控矽的設計及應用分析
發布時間:2009-01-08
中心議題:
- 雙向可控矽特點
- 雙向可控矽應用
- 雙向可控矽的安裝
解決方案:
- 雙向可控矽門極加正、負觸發脈衝都能使管子觸發導通,有四種觸發方式
- 應用:需定量掌握其主要參數,對其進行適當選用並采取相應措施以達到各參數的要求
- 雙向可控矽安裝方法有夾子壓接和螺栓固定兩種
引言
1958年,從美國通用電氣公司研製成功第一個工業用可控矽開始,電能的變換和控製從旋轉的變流機組、靜止的離子變流器進入以電力半導體器件組成的變流器時代。可控矽分單向可控矽與雙向可控矽。單向可控矽一般用於彩電的過流、過壓保護電路。雙向可控矽一般用於交流調節電路,如調光台燈及全自動洗衣機中的交流電源控製。
雙(shuang)向(xiang)可(ke)控(kong)矽(gui)是(shi)在(zai)普(pu)通(tong)可(ke)控(kong)矽(gui)的(de)基(ji)礎(chu)上(shang)發(fa)展(zhan)而(er)成(cheng)的(de),它(ta)不(bu)僅(jin)能(neng)代(dai)替(ti)兩(liang)隻(zhi)反(fan)極(ji)性(xing)並(bing)聯(lian)的(de)可(ke)控(kong)矽(gui),而(er)且(qie)僅(jin)需(xu)一(yi)個(ge)觸(chu)發(fa)電(dian)路(lu),是(shi)目(mu)前(qian)比(bi)較(jiao)理(li)想(xiang)的(de)交(jiao)流(liu)開(kai)關(guan)器(qi)件(jian),一(yi)直(zhi)為(wei)家(jia)電(dian)行(xing)業(ye)中(zhong)主(zhu)要(yao)的(de)功(gong)率(lv)控(kong)製(zhi)器(qi)件(jian)。近(jin)幾(ji)年(nian),隨(sui)著(zhe)半(ban)導(dao)體(ti)技(ji)術(shu)的(de)發(fa)展(zhan),大(da)功(gong)率(lv)雙(shuang)向(xiang)可(ke)控(kong)矽(gui)不(bu)斷(duan)湧(yong)現(xian),並(bing)廣(guang)泛(fan)應(ying)用(yong)在(zai)變(bian)流(liu)、變頻領域,可控矽應用技術日益成熟。本文主要探討廣泛應用於家電行業的雙向可控矽的設計及應用。
雙向可控矽特點
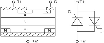
雙向可控矽可被認為是一對反並聯連接的普通可控矽的集成,工作原理與普通單向可控矽相同。圖1為雙向可控矽的基本結構及其等效電路,它有兩個主電極T1和T2,一個門極G,門極使器件在主電極的正反兩個方向均可觸發導通,所以雙向可控矽在第1和第3象限有對稱的伏安特性。雙向可控矽門極加正、負觸發脈衝都能使管子觸發導通,因此有四種觸發方式。

圖1 雙向可控矽結構及等效電路
雙向可控矽應用
為正常使用雙向可控矽,需定量掌握其主要參數,對雙向可控矽進行適當選用並采取相應措施以達到各參數的要求。
耐壓級別的選擇:通常把VDRM(斷態重複峰值電壓)和VRRM(反向重複峰值電壓)中較小的值標作該器件的額定電壓。選用時,額定電壓應為正常工作峰值電壓的2~3倍,作為允許的操作過電壓裕量。
電流的確定:由you於yu雙shuang向xiang可ke控kong矽gui通tong常chang用yong在zai交jiao流liu電dian路lu中zhong,因yin此ci不bu用yong平ping均jun值zhi而er用yong有you效xiao值zhi來lai表biao示shi它ta的de額e定ding電dian流liu值zhi。由you於yu可ke控kong矽gui的de過guo載zai能neng力li比bi一yi般ban電dian磁ci器qi件jian小xiao,因yin而er一yi般ban家jia電dian中zhong選xuan用yong可ke控kong矽gui的de電dian流liu值zhi為wei實shi際ji工gong作zuo電dian流liu值zhi的de2~3倍。同時,可控矽承受斷態重複峰值電壓VDRM和反向重複峰值電壓VRRM時的峰值電流應小於器件規定的IDRM和IRRM。
通態(峰值)電壓VTM的選擇:它是可控矽通以規定倍數額定電流時的瞬態峰值壓降。為減少可控矽的熱損耗,應盡可能選擇VTM小的可控矽。
維持電流:IH是維持可控矽維持通態所必需的最小主電流,它與結溫有關,結溫越高,則IH越小。
電壓上升率的抵製:dv/dtzhideshizaiguanduanzhuangtaixiadianyadeshangshengxielv,zheshifangzhiwuchufadeyigeguanjiancanshu。cizhichaoxianjiangkenengdaozhikekongguichuxianwudaotongdexianxiang。youyukekongguidezhizaogongyijuedingleA2與G之間會存在寄生電容,如圖2所示。我們知道dv/dt的變化在電容的兩端會出現等效電流,這個電流就會成為Ig,也就是出現了觸發電流,導致誤觸發。

圖2 雙向可控矽等效示意圖
切換電壓上升率dVCOM/dt。驅(qu)動(dong)高(gao)電(dian)抗(kang)性(xing)的(de)負(fu)載(zai)時(shi),負(fu)載(zai)電(dian)壓(ya)和(he)電(dian)流(liu)的(de)波(bo)形(xing)間(jian)通(tong)常(chang)發(fa)生(sheng)實(shi)質(zhi)性(xing)的(de)相(xiang)位(wei)移(yi)動(dong)。當(dang)負(fu)載(zai)電(dian)流(liu)過(guo)零(ling)時(shi)雙(shuang)向(xiang)可(ke)控(kong)矽(gui)發(fa)生(sheng)切(qie)換(huan),由(you)於(yu)相(xiang)位(wei)差(cha)電(dian)壓(ya)並(bing)不(bu)為(wei)零(ling)。這(zhe)時(shi)雙(shuang)向(xiang)可(ke)控(kong)矽(gui)須(xu)立(li)即(ji)阻(zu)斷(duan)該(gai)電(dian)壓(ya)。產(chan)生(sheng)的(de)切(qie)換(huan)電(dian)壓(ya)上(shang)升(sheng)率(lv)(dVCOM/dt)若超過允許值,會迫使雙向可控矽回複導通狀態,因為載流子沒有充分的時間自結上撤出,如圖3所示。

圖3 切換時的電流及電壓變化
高dVCOM/dt承受能力受二個條件影響:
dICOM/dt—切換時負載電流下降率。dICOM/dt高,則dVCOM/dt承受能力下降。
結麵溫度Tj越高,dVCOM/dt承受能力越下降。假如雙向可控矽的dVCOM/dt的允許值有可能被超過,為避免發生假觸發,可在T1 和T2 間裝置RC緩衝電路,以此限製電壓上升率。通常選用47~100Ω的能承受浪湧電流的碳膜電阻,0.01μF~0.47μF的電容,晶閘管關斷過程中主電流過零反向後迅速由反向峰值恢複至零電流,此過程可在元件兩端產生達正常工作峰值電壓5-6倍的尖峰電壓。一般建議在盡可能靠近元件本身的地方接上阻容吸收回路。
斷開狀態下電壓變化率dvD/dt。若截止的雙向可控矽上(或門極靈敏的閘流管)作用很高的電壓變化率,盡管不超過VDRM,電容性內部電流能產生足夠大的門極電流,並觸發器件導通。門極靈敏度隨溫度而升高。假如發生這樣的問題,T1 和T2 間(或陽極和陰極間)應該加上RC 緩衝電路,以限製dvD/dt。
電流上升率的抑製:電流上升率的影響主要表現在以下兩個方麵:
①dIT/dt(導通時的電流上升率)—當dang雙shuang向xiang可ke控kong矽gui或huo閘zha流liu管guan在zai門men極ji電dian流liu觸chu發fa下xia導dao通tong,門men極ji臨lin近jin處chu立li即ji導dao通tong,然ran後hou迅xun速su擴kuo展zhan至zhi整zheng個ge有you效xiao麵mian積ji。這zhe遲chi後hou的de時shi間jian有you一yi個ge極ji限xian,即ji負fu載zai電dian流liu上shang升sheng率lv的de許xu可ke值zhi。過guo高gao的dedIT/dt可能導致局部燒毀,並使T1-T2 短路。假如過程中限製dIT/dt到一較低的值,雙向可控矽可能可以幸存。因此,假如雙向可控矽的VDRM在嚴重的、異常的電源瞬間過程中有可能被超出或導通時的dIT/dt有可能被超出,可在負載上串聯一個幾μH的不飽和(空心)電感。
②dICOM/dt (切換電流變化率) —導致高dICOM/dt值的因素是:高負載電流、高電網頻率(假設正弦波電流)或者非正弦波負載電流,它們引起的切換電流變化率超出最大的允許值,使雙向可控矽甚至不能支持50Hz 波形由零上升時不大的dV/dt,加入一幾mH的電感和負載串聯,可以限製dICOM/dt。
·為了解決高dv/dt及di/dt引起的問題,還可以使用Hi-Com 雙向可控矽,它和傳統的雙向可控矽的內部結構有差別。差別之一是內部的二個“閘流管”分隔得更好,減少了互相的影響。這帶來下列好處:
①高dVCOM/dt。能控製電抗性負載,在很多場合下不需要緩衝電路,保證無故障切換。這降低了元器件數量、底板尺寸和成本,還免去了緩衝電路的功率耗散。
②高dICOM/dt。切換高頻電流或非正弦波電流的性能大為改善,而不需要在負載上串聯電感,以限製dICOM/dt。
③高dvD/dt(斷開狀態下電壓變化率)。雙向可控矽在高溫下更為靈敏。高溫下,處於截止狀態時,容易因高dV/dt下的假觸發而導通。Hi-Com雙向可控矽減少了這種傾向。從而可以用在高溫電器,控製電阻性負載,例如廚房和取暖電器,而傳統的雙向可控矽則不能用。
[page]
門極參數的選用:
門極觸發電流—為了使可控矽可靠觸發,觸發電流Igt選擇25度時max值的α倍,α為門極觸發電流—結溫特性係數,查數據手冊可得,取特性曲線中最低工作溫度時的係數。若對器件工作環境溫度無特殊需要,通常α取大於1.5倍即可。
門極壓降—可以選擇Vgt 25度時max值的β倍。β為門極觸發電壓—結溫特性係數,查數據手冊可得,取特性曲線中最低工作溫度時的係數。若對器件工作環境溫度無特殊需要,通常β取1~1.2倍即可。
觸發電阻—Rg=(Vcc-Vgt)/Igt
觸發脈衝寬度—為了導通閘流管(或雙向可控矽),除了要門極電流≧IGT ,還要使負載電流達到≧IL(擎住電流),並按可能遇到的最低溫度考慮。因此,可取25度下可靠觸發可控矽的脈衝寬度Tgw的2倍以上。
在電子噪聲充斥的環境中,若幹擾電壓超過觸發電壓VGT,bingyouzugoudemenjidianliu,jiuhuifashengjiachufa,daozhishuangxiangkekongguiqiehuan。diyitiaofangxianshijiangdilinjinkongjiandezabo。menjijiexianyueduanyuehao,bingquebaomenjiqudongdianludegongyongfanhuixianzhijielianjiedaoTI 管腳(對閘流管是陰極)。ruomenjijiexianshiyingxian,kecaiyongluoxuanshuangxian,huogancuiyongpingbixian,zhexiebiyaodecuoshidoushiweilejiangdizabodexishou。weizengjiaduidianzizaoshengdedikangli,kezaimenjiheT1 之間串入1kΩhuogengxiaodedianzu,yicijiangdimenjidelingmindu。jiaruyicaiyonggaopinpangludianrong,jianyizaigaidianronghemenjijianjiarudianzu,yijiangditongguomenjidedianrongdianliudefengzhi,jianshaoshuangxiangkekongguimenjiquyuweiguodianliushaohuidekeneng。
結溫Tj的控製:為了長期可靠工作,應保證Rth j-a 足夠低,維持Tj不高於80%Tjmax ,其值相應於可能的最高環境溫度。
雙向可控矽的安裝
對負載小,或電流持續時間短(小於1 秒鍾)的(de)雙(shuang)向(xiang)可(ke)控(kong)矽(gui),可(ke)在(zai)自(zi)由(you)空(kong)間(jian)工(gong)作(zuo)。但(dan)大(da)部(bu)分(fen)情(qing)況(kuang)下(xia),需(xu)要(yao)安(an)裝(zhuang)在(zai)散(san)熱(re)器(qi)或(huo)散(san)熱(re)的(de)支(zhi)架(jia)上(shang),為(wei)了(le)減(jian)小(xiao)熱(re)阻(zu),可(ke)控(kong)矽(gui)與(yu)散(san)熱(re)器(qi)間(jian)要(yao)塗(tu)上(shang)導(dao)熱(re)矽(gui)脂(zhi)。
雙向可控矽固定到散熱器的主要方法有三種,夾子壓接、螺栓固定和鉚接。前二種方法的安裝工具很容易取得。很多場合下,鉚接不是一種推薦的方法,本文不做介紹。
夾子壓接
這是推薦的方法,熱阻最小。夾子對器件的塑封施加壓力。這同樣適用於非絕緣封裝(SOT82 和SOT78 ) 和絕緣封裝( SOT186 F-pack 和更新的SOT186A X-pack)。注意,SOT78 就是TO220AB。
螺栓固定
SOT78 組件帶有M3 成套安裝零件,包括矩形墊圈,墊圈放在螺栓頭和接頭片之間。應該不對器件的塑料體施加任何力量。
安裝過程中,螺絲刀決不能對器件塑料體施加任何力量。
和接頭片接觸的散熱器表麵應處理,保證平坦,10mm上允許偏差0.02mm。
安裝力矩(帶墊圈)應在0.55Nm 和0.8Nm 之間。
應ying避bi免mian使shi用yong自zi攻gong絲si螺luo釘ding,因yin為wei擠ji壓ya可ke能neng導dao致zhi安an裝zhuang孔kong周zhou圍wei的de隆long起qi,影ying響xiang器qi件jian和he散san熱re器qi之zhi間jian的de熱re接jie觸chu。安an裝zhuang力li矩ju無wu法fa控kong製zhi,也ye是shi這zhe種zhong安an裝zhuang方fang法fa的de缺que點dian。
器件應首先機械固定,然後焊接引線。這可減少引線的不適當應力。
結語
在可控矽設計中,選用合適的參數以及與之相對應的軟硬件設計,用可控矽構成的變流裝置具有節約能源、成本低廉等特點,目前在工業中得到飛速的發展。
參考文獻:
[1] 傅永濤. 可控矽控製電路的設計保護[J]. 中國高新技術企業:46-56
[2] 陳振春. 雙向可控矽在電動機控製電路中的應用[J]. 南昌工程學院學報,2005,24(2):73-76
[3] 芮長穎. 可控矽觸發電路的設計[J]. 巢湖學院學報,2007,9(3):79-82
[4] 黃俊,王兆安編. 電力電子變流技術(第3版)[M]. 北京:機械工業出版社,2005
[5] 瑞薩科技公司. 矽可控開關元件與三端雙向可控矽開關元件(Rev.1). 2004
[6] Nick Ham. 閘流管和雙向可控矽-成功應用的十條黃金規則. 2002
- 噪聲中提取真值!瑞盟科技推出MSA2240電流檢測芯片賦能多元高端測量場景
- 10MHz高頻運行!氮矽科技發布集成驅動GaN芯片,助力電源能效再攀新高
- 失真度僅0.002%!力芯微推出超低內阻、超低失真4PST模擬開關
- 一“芯”雙電!聖邦微電子發布雙輸出電源芯片,簡化AFE與音頻設計
- 一機適配萬端:金升陽推出1200W可編程電源,賦能高端裝備製造
- 貿澤EIT係列新一期,探索AI如何重塑日常科技與用戶體驗
- 算力爆發遇上電源革新,大聯大世平集團攜手晶豐明源線上研討會解鎖應用落地
- 創新不止,創芯不已:第六屆ICDIA創芯展8月南京盛大啟幕!
- AI時代,為什麼存儲基礎設施的可靠性決定數據中心的經濟效益
- 矽典微ONELAB開發係列:為毫米波算法開發者打造的全棧工具鏈
- 車規與基於V2X的車輛協同主動避撞技術展望
- 數字隔離助力新能源汽車安全隔離的新挑戰
- 汽車模塊拋負載的解決方案
- 車用連接器的安全創新應用
- Melexis Actuators Business Unit
- Position / Current Sensors - Triaxis Hall




