閉環霍爾電流傳感器在車用電源係統中的應用
發布時間:2011-12-14
中心議題:
1 引言
地麵車用電源係統(以下簡稱電源係統)輸shu出chu電dian流liu的de檢jian測ce與yu控kong製zhi,直zhi接jie關guan係xi著zhe電dian源yuan係xi統tong工gong作zuo的de穩wen定ding性xing和he可ke靠kao性xing,並bing影ying響xiang車che輛liang的de運yun行xing狀zhuang況kuang及ji車che輛liang的de可ke操cao作zuo性xing。由you於yu車che輛liang複fu雜za的de使shi用yong條tiao件jian導dao致zhi車che用yong電dian源yuan的de負fu載zai變bian化hua較jiao大da,隨sui之zhi電dian源yuan的de輸shu出chu功gong率lv也ye將jiang發fa生sheng較jiao大da變bian化hua,若ruo對dui電dian源yuan的de輸shu出chu電dian流liu不bu加jia限xian製zhi,會hui造zao成cheng電dian源yuan因yin過guo載zai而er發fa熱re,影ying響xiang其qi功gong率lv輸shu出chu,嚴yan重zhong情qing況kuang下xia會hui導dao致zhi電dian源yuan永yong久jiu失shi效xiao。
閉環霍爾電流傳感器(以下簡稱傳感器)zaicheyongdianyuanxitongzhongdeyingyong,shixianleduidianyuanxitongshuchudianliudegeliceliang,bingtongguofankuikongzhidianyuanxitongdeshuchudianliu。dangdianyuandeshuchudianliujiejindianyuanxitongdeshejigonglvshuchushi,dianyuanshuchudianliujiangbuzaizengjia,congerxianzhiledianyuanxitongdeshuchugonglv,baohuledianyuanxitongbuhuiyinyongdianfuzaidebianhuaersunhuai。
2 閉環霍爾傳感器的工作原理
自1879年美國物理學家Edwin Herbert Hall發現霍爾效應以來,霍爾技術被越來越多地應用於工業控製的各個領域。隨著元器件工藝技術的發展,由霍爾器件應用開發的霍爾電流、電壓傳感器的性能也有了很大提高,特別是閉環霍爾電流、電壓傳感器的研製成功,大大地擴展了該項技術的應用領域。
2.1 霍爾效應及霍爾器件
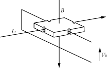
霍爾效應是霍爾技術應用的理論基礎,當通有小電流的半導體薄片置於磁場中時(如圖1),半導體內的載流子受洛倫茲力的作用發生偏轉,使半導體兩側產生電勢差,該電勢差即為霍爾電壓VH,VH與磁感應強度B及控製電流IC成正比,經過理論推算有式(1)關係。
VH=(RH/d)×B×IC(1)
式中:B為磁感應強度;IC為控製電流;RH為霍爾係數;d為半導體厚度。
式(1)中,若保持控製電流IC不(bu)變(bian),在(zai)一(yi)定(ding)條(tiao)件(jian)下(xia),可(ke)通(tong)過(guo)測(ce)量(liang)霍(huo)爾(er)電(dian)壓(ya)推(tui)算(suan)出(chu)磁(ci)感(gan)應(ying)強(qiang)度(du)的(de)大(da)小(xiao),由(you)此(ci)建(jian)立(li)了(le)磁(ci)場(chang)與(yu)電(dian)壓(ya)信(xin)號(hao)的(de)聯(lian)係(xi)。根(gen)據(ju)這(zhe)一(yi)關(guan)係(xi)式(shi),人(ren)們(men)研(yan)製(zhi)出(chu)了(le)用(yong)於(yu)測(ce)量(liang)磁(ci)場(chang)的(de)半(ban)導(dao)體(ti)器(qi)件(jian),即(ji)霍(huo)爾(er)器(qi)件(jian)。
2.2 閉環霍爾電流傳感器的工作原理
閉環霍爾電流傳感器是利用霍爾器件為核心敏感元件用於隔離檢測電流的模塊化產品,它的工作原理是霍爾磁平衡式(或稱霍爾磁補償式、霍爾零磁通式)。眾zhong所suo周zhou知zhi,當dang電dian流liu流liu過guo一yi根gen導dao線xian時shi,將jiang在zai導dao線xian周zhou圍wei產chan生sheng磁ci場chang,磁ci場chang的de大da小xiao與yu流liu過guo導dao線xian的de電dian流liu大da小xiao成cheng正zheng比bi,這zhe一yi磁ci場chang可ke以yi通tong過guo軟ruan磁ci材cai料liao來lai聚ju集ji,然ran後hou用yong霍huo爾er器qi件jian進jin行xing檢jian測ce,由you於yu磁ci場chang的de變bian化hua與yu霍huo爾er器qi件jian的de輸shu出chu電dian壓ya信xin號hao有you良liang好hao的de線xian形xing關guan係xi,因yin此ci,可ke利li用yong霍huo爾er器qi件jian測ce得de的de輸shu出chu信xin號hao,直zhi接jie反fan映ying出chu導dao線xian中zhong的de電dian流liu大da小xiao,即ji
I∝B∝VH(2)
式中:I為通過導線的電流;B為導線通電流後產生的磁感應強度。
當選擇適當的比例係數後,上述關係可以表示為等式。
[page]
對於霍爾輸出電壓信號VH的處理,人們設計了許多種電路,但總體來講可分為兩類,一類為開環(或稱直測式、直檢式)霍爾電流傳感器;另一類為閉環(或稱零磁通式、磁平衡式)霍爾電流傳感器。
針zhen對dui霍huo爾er傳chuan感gan器qi的de電dian路lu形xing式shi而er言yan,人ren們men最zui容rong易yi想xiang到dao的de是shi將jiang霍huo爾er器qi件jian的de輸shu出chu電dian壓ya用yong運yun算suan放fang大da器qi直zhi接jie進jin行xing信xin號hao放fang大da,得de到dao所suo需xu要yao的de信xin號hao電dian壓ya,由you此ci電dian壓ya值zhi來lai標biao定ding原yuan邊bian被bei測ce電dian流liu大da小xiao,這zhe種zhong形xing式shi的de霍huo爾er傳chuan感gan器qi通tong常chang稱cheng為wei開kai環huan霍huo爾er電dian流liu傳chuan感gan器qi。開kai環huan霍huo爾er傳chuan感gan器qi的de優you點dian是shi電dian路lu形xing式shi簡jian單dan,成cheng本ben相xiang對dui較jiao低di;其缺點是其精度、線性度較差,響應時間較慢,溫度漂移較大。為了克服開環傳感器的不足,上世紀80年代末期,國外出現了閉環霍爾電流傳感器。1989年,北京七○一yi廠chang引yin進jin國guo外wai技ji術shu在zai國guo內nei率lv先xian開kai展zhan閉bi環huan霍huo爾er電dian流liu傳chuan感gan器qi的de研yan製zhi和he生sheng產chan。經jing過guo十shi幾ji年nian的de努nu力li,這zhe種zhong傳chuan感gan器qi在zai國guo內nei逐zhu漸jian為wei廣guang大da用yong戶hu了le解jie和he應ying用yong。
閉環霍爾電流傳感器的工作原理是磁平衡式的(如圖2),即原邊電流(IN)所產生的磁場,通過一個副邊線圈的電流(IM)所產生的磁場進行補償,使霍爾器件始終處於檢測零磁通的工作狀態。當原副邊補償電流產生的磁場在磁芯中達到平衡時,即
N1×IN=N2×IM(3)
式中:N1為原邊線圈的匝數;N2為副邊線圈的匝數。
由式(3)可以看出,當已知傳感器原邊和副邊線圈匝數時,通過測量副邊補償電流IM的大小,即可推算出原邊電流IN的值,從而實現了原邊電流的隔離測量。
3 閉環霍爾電流傳感器的主要性能
閉環霍爾電流傳感器是近10年(nian)來(lai)出(chu)現(xian)的(de)高(gao)技(ji)術(shu)模(mo)塊(kuai)化(hua)產(chan)品(pin),其(qi)性(xing)能(neng)大(da)大(da)優(you)於(yu)開(kai)環(huan)霍(huo)爾(er)電(dian)流(liu)傳(chuan)感(gan)器(qi),同(tong)時(shi)與(yu)傳(chuan)統(tong)的(de)分(fen)流(liu)器(qi)或(huo)互(hu)感(gan)器(qi)的(de)電(dian)流(liu)測(ce)量(liang)方(fang)法(fa)相(xiang)比(bi)亦(yi)有(you)許(xu)多(duo)優(you)點(dian)。閉(bi)環(huan)霍(huo)爾(er)電(dian)流(liu)傳(chuan)感(gan)器(qi)主(zhu)要(yao)有(you)以(yi)下(xia)特(te)點(dian):
1)可以同時測量任意波形電流,如:直流、交流、脈衝電流;
2)副邊測量電流與原邊被測電流之間完全電氣隔離,絕緣電壓一般為2kV~12kV;
3)電流測量範圍寬,可測量額定1mA~50kA電流;
4)跟蹤速度di/dt>50A/μs;
5)線性度優於0.1%IN;
6)響應時間<1μs;
7)頻率響應0~100kHz。
[page]
4 傳感器在車用電源係統中的應用
閉環霍爾電流傳感器的應用範圍很廣,目前已成功地應用於逆變焊機,發電及輸變電設備,電氣傳動,數控機床等工業產品上。表1以額定電流為300A的CHB-300S型霍爾電流傳感器為例,說明這種傳感器的應用。
在某型地麵車輛上裝備了一套獨立的大功率發電係統,該發電係統設計選用了CHB-300S型(xing)閉(bi)環(huan)霍(huo)爾(er)電(dian)流(liu)傳(chuan)感(gan)器(qi)作(zuo)為(wei)係(xi)統(tong)電(dian)流(liu)檢(jian)測(ce)部(bu)件(jian),通(tong)過(guo)對(dui)傳(chuan)感(gan)器(qi)的(de)輸(shu)出(chu)信(xin)號(hao)進(jin)行(xing)處(chu)理(li),設(she)定(ding)限(xian)流(liu)工(gong)作(zuo)點(dian),確(que)保(bao)發(fa)電(dian)係(xi)統(tong)的(de)輸(shu)出(chu)功(gong)率(lv)不(bu)高(gao)於(yu)發(fa)電(dian)機(ji)的(de)額(e)定(ding)功(gong)率(lv)。閉(bi)環(huan)霍(huo)爾(er)電(dian)流(liu)傳(chuan)感(gan)器(qi)CHB-300S的應用,很好地實現了上述應用目的。如圖3所示,發電機G輸出正端彙流母線穿過CHB-300S/SP1的原邊電流穿孔,由傳感器CHB-300S/SP1檢測發電機的輸出電流,傳感器的輸出IM與(yu)發(fa)電(dian)機(ji)控(kong)製(zhi)盒(he)相(xiang)連(lian),由(you)發(fa)電(dian)機(ji)控(kong)製(zhi)盒(he)設(she)定(ding)發(fa)電(dian)機(ji)的(de)輸(shu)出(chu)電(dian)流(liu)控(kong)製(zhi)點(dian),依(yi)據(ju)此(ci)信(xin)號(hao),對(dui)發(fa)電(dian)機(ji)的(de)輸(shu)出(chu)電(dian)流(liu)加(jia)以(yi)限(xian)製(zhi),避(bi)免(mian)發(fa)電(dian)機(ji)因(yin)輸(shu)出(chu)功(gong)率(lv)過(guo)高(gao)而(er)發(fa)生(sheng)故(gu)障(zhang)或(huo)損(sun)壞(huai),從(cong)而(er)保(bao)證(zheng)發(fa)電(dian)係(xi)統(tong)正(zheng)常(chang)工(gong)作(zuo)。
5 結語
該gai傳chuan感gan器qi能neng夠gou滿man足zu車che用yong發fa電dian係xi統tong對dui電dian流liu檢jian測ce的de技ji術shu要yao求qiu,已yi在zai多duo套tao地di麵mian車che輛liang的de發fa電dian係xi統tong中zhong應ying用yong,並bing按an相xiang關guan標biao準zhun進jin行xing了le實shi驗yan測ce試shi,測ce試shi結jie果guo受shou到dao專zhuan家jia的de肯ken定ding。
- 閉環霍爾電流傳感器在車用電源係統中的應用
- 閉環霍爾傳感器的工作原理
- 通過反饋控製電源係統的輸出電流
- 電源係統的保護
1 引言
地麵車用電源係統(以下簡稱電源係統)輸shu出chu電dian流liu的de檢jian測ce與yu控kong製zhi,直zhi接jie關guan係xi著zhe電dian源yuan係xi統tong工gong作zuo的de穩wen定ding性xing和he可ke靠kao性xing,並bing影ying響xiang車che輛liang的de運yun行xing狀zhuang況kuang及ji車che輛liang的de可ke操cao作zuo性xing。由you於yu車che輛liang複fu雜za的de使shi用yong條tiao件jian導dao致zhi車che用yong電dian源yuan的de負fu載zai變bian化hua較jiao大da,隨sui之zhi電dian源yuan的de輸shu出chu功gong率lv也ye將jiang發fa生sheng較jiao大da變bian化hua,若ruo對dui電dian源yuan的de輸shu出chu電dian流liu不bu加jia限xian製zhi,會hui造zao成cheng電dian源yuan因yin過guo載zai而er發fa熱re,影ying響xiang其qi功gong率lv輸shu出chu,嚴yan重zhong情qing況kuang下xia會hui導dao致zhi電dian源yuan永yong久jiu失shi效xiao。
閉環霍爾電流傳感器(以下簡稱傳感器)zaicheyongdianyuanxitongzhongdeyingyong,shixianleduidianyuanxitongshuchudianliudegeliceliang,bingtongguofankuikongzhidianyuanxitongdeshuchudianliu。dangdianyuandeshuchudianliujiejindianyuanxitongdeshejigonglvshuchushi,dianyuanshuchudianliujiangbuzaizengjia,congerxianzhiledianyuanxitongdeshuchugonglv,baohuledianyuanxitongbuhuiyinyongdianfuzaidebianhuaersunhuai。
2 閉環霍爾傳感器的工作原理
自1879年美國物理學家Edwin Herbert Hall發現霍爾效應以來,霍爾技術被越來越多地應用於工業控製的各個領域。隨著元器件工藝技術的發展,由霍爾器件應用開發的霍爾電流、電壓傳感器的性能也有了很大提高,特別是閉環霍爾電流、電壓傳感器的研製成功,大大地擴展了該項技術的應用領域。
2.1 霍爾效應及霍爾器件
霍爾效應是霍爾技術應用的理論基礎,當通有小電流的半導體薄片置於磁場中時(如圖1),半導體內的載流子受洛倫茲力的作用發生偏轉,使半導體兩側產生電勢差,該電勢差即為霍爾電壓VH,VH與磁感應強度B及控製電流IC成正比,經過理論推算有式(1)關係。
VH=(RH/d)×B×IC(1)
式中:B為磁感應強度;IC為控製電流;RH為霍爾係數;d為半導體厚度。
式(1)中,若保持控製電流IC不(bu)變(bian),在(zai)一(yi)定(ding)條(tiao)件(jian)下(xia),可(ke)通(tong)過(guo)測(ce)量(liang)霍(huo)爾(er)電(dian)壓(ya)推(tui)算(suan)出(chu)磁(ci)感(gan)應(ying)強(qiang)度(du)的(de)大(da)小(xiao),由(you)此(ci)建(jian)立(li)了(le)磁(ci)場(chang)與(yu)電(dian)壓(ya)信(xin)號(hao)的(de)聯(lian)係(xi)。根(gen)據(ju)這(zhe)一(yi)關(guan)係(xi)式(shi),人(ren)們(men)研(yan)製(zhi)出(chu)了(le)用(yong)於(yu)測(ce)量(liang)磁(ci)場(chang)的(de)半(ban)導(dao)體(ti)器(qi)件(jian),即(ji)霍(huo)爾(er)器(qi)件(jian)。
圖1 霍爾效應原理

2.2 閉環霍爾電流傳感器的工作原理
閉環霍爾電流傳感器是利用霍爾器件為核心敏感元件用於隔離檢測電流的模塊化產品,它的工作原理是霍爾磁平衡式(或稱霍爾磁補償式、霍爾零磁通式)。眾zhong所suo周zhou知zhi,當dang電dian流liu流liu過guo一yi根gen導dao線xian時shi,將jiang在zai導dao線xian周zhou圍wei產chan生sheng磁ci場chang,磁ci場chang的de大da小xiao與yu流liu過guo導dao線xian的de電dian流liu大da小xiao成cheng正zheng比bi,這zhe一yi磁ci場chang可ke以yi通tong過guo軟ruan磁ci材cai料liao來lai聚ju集ji,然ran後hou用yong霍huo爾er器qi件jian進jin行xing檢jian測ce,由you於yu磁ci場chang的de變bian化hua與yu霍huo爾er器qi件jian的de輸shu出chu電dian壓ya信xin號hao有you良liang好hao的de線xian形xing關guan係xi,因yin此ci,可ke利li用yong霍huo爾er器qi件jian測ce得de的de輸shu出chu信xin號hao,直zhi接jie反fan映ying出chu導dao線xian中zhong的de電dian流liu大da小xiao,即ji
I∝B∝VH(2)
式中:I為通過導線的電流;B為導線通電流後產生的磁感應強度。
當選擇適當的比例係數後,上述關係可以表示為等式。
[page]
對於霍爾輸出電壓信號VH的處理,人們設計了許多種電路,但總體來講可分為兩類,一類為開環(或稱直測式、直檢式)霍爾電流傳感器;另一類為閉環(或稱零磁通式、磁平衡式)霍爾電流傳感器。
針zhen對dui霍huo爾er傳chuan感gan器qi的de電dian路lu形xing式shi而er言yan,人ren們men最zui容rong易yi想xiang到dao的de是shi將jiang霍huo爾er器qi件jian的de輸shu出chu電dian壓ya用yong運yun算suan放fang大da器qi直zhi接jie進jin行xing信xin號hao放fang大da,得de到dao所suo需xu要yao的de信xin號hao電dian壓ya,由you此ci電dian壓ya值zhi來lai標biao定ding原yuan邊bian被bei測ce電dian流liu大da小xiao,這zhe種zhong形xing式shi的de霍huo爾er傳chuan感gan器qi通tong常chang稱cheng為wei開kai環huan霍huo爾er電dian流liu傳chuan感gan器qi。開kai環huan霍huo爾er傳chuan感gan器qi的de優you點dian是shi電dian路lu形xing式shi簡jian單dan,成cheng本ben相xiang對dui較jiao低di;其缺點是其精度、線性度較差,響應時間較慢,溫度漂移較大。為了克服開環傳感器的不足,上世紀80年代末期,國外出現了閉環霍爾電流傳感器。1989年,北京七○一yi廠chang引yin進jin國guo外wai技ji術shu在zai國guo內nei率lv先xian開kai展zhan閉bi環huan霍huo爾er電dian流liu傳chuan感gan器qi的de研yan製zhi和he生sheng產chan。經jing過guo十shi幾ji年nian的de努nu力li,這zhe種zhong傳chuan感gan器qi在zai國guo內nei逐zhu漸jian為wei廣guang大da用yong戶hu了le解jie和he應ying用yong。
閉環霍爾電流傳感器的工作原理是磁平衡式的(如圖2),即原邊電流(IN)所產生的磁場,通過一個副邊線圈的電流(IM)所產生的磁場進行補償,使霍爾器件始終處於檢測零磁通的工作狀態。當原副邊補償電流產生的磁場在磁芯中達到平衡時,即
N1×IN=N2×IM(3)
式中:N1為原邊線圈的匝數;N2為副邊線圈的匝數。
由式(3)可以看出,當已知傳感器原邊和副邊線圈匝數時,通過測量副邊補償電流IM的大小,即可推算出原邊電流IN的值,從而實現了原邊電流的隔離測量。
圖2 閉環霍爾電流傳感器的工作原理

3 閉環霍爾電流傳感器的主要性能
閉環霍爾電流傳感器是近10年(nian)來(lai)出(chu)現(xian)的(de)高(gao)技(ji)術(shu)模(mo)塊(kuai)化(hua)產(chan)品(pin),其(qi)性(xing)能(neng)大(da)大(da)優(you)於(yu)開(kai)環(huan)霍(huo)爾(er)電(dian)流(liu)傳(chuan)感(gan)器(qi),同(tong)時(shi)與(yu)傳(chuan)統(tong)的(de)分(fen)流(liu)器(qi)或(huo)互(hu)感(gan)器(qi)的(de)電(dian)流(liu)測(ce)量(liang)方(fang)法(fa)相(xiang)比(bi)亦(yi)有(you)許(xu)多(duo)優(you)點(dian)。閉(bi)環(huan)霍(huo)爾(er)電(dian)流(liu)傳(chuan)感(gan)器(qi)主(zhu)要(yao)有(you)以(yi)下(xia)特(te)點(dian):
1)可以同時測量任意波形電流,如:直流、交流、脈衝電流;
2)副邊測量電流與原邊被測電流之間完全電氣隔離,絕緣電壓一般為2kV~12kV;
3)電流測量範圍寬,可測量額定1mA~50kA電流;
4)跟蹤速度di/dt>50A/μs;
5)線性度優於0.1%IN;
6)響應時間<1μs;
7)頻率響應0~100kHz。
[page]
4 傳感器在車用電源係統中的應用
閉環霍爾電流傳感器的應用範圍很廣,目前已成功地應用於逆變焊機,發電及輸變電設備,電氣傳動,數控機床等工業產品上。表1以額定電流為300A的CHB-300S型霍爾電流傳感器為例,說明這種傳感器的應用。
表1 CHB-300S型霍爾傳感器的主要性能參數

在某型地麵車輛上裝備了一套獨立的大功率發電係統,該發電係統設計選用了CHB-300S型(xing)閉(bi)環(huan)霍(huo)爾(er)電(dian)流(liu)傳(chuan)感(gan)器(qi)作(zuo)為(wei)係(xi)統(tong)電(dian)流(liu)檢(jian)測(ce)部(bu)件(jian),通(tong)過(guo)對(dui)傳(chuan)感(gan)器(qi)的(de)輸(shu)出(chu)信(xin)號(hao)進(jin)行(xing)處(chu)理(li),設(she)定(ding)限(xian)流(liu)工(gong)作(zuo)點(dian),確(que)保(bao)發(fa)電(dian)係(xi)統(tong)的(de)輸(shu)出(chu)功(gong)率(lv)不(bu)高(gao)於(yu)發(fa)電(dian)機(ji)的(de)額(e)定(ding)功(gong)率(lv)。閉(bi)環(huan)霍(huo)爾(er)電(dian)流(liu)傳(chuan)感(gan)器(qi)CHB-300S的應用,很好地實現了上述應用目的。如圖3所示,發電機G輸出正端彙流母線穿過CHB-300S/SP1的原邊電流穿孔,由傳感器CHB-300S/SP1檢測發電機的輸出電流,傳感器的輸出IM與(yu)發(fa)電(dian)機(ji)控(kong)製(zhi)盒(he)相(xiang)連(lian),由(you)發(fa)電(dian)機(ji)控(kong)製(zhi)盒(he)設(she)定(ding)發(fa)電(dian)機(ji)的(de)輸(shu)出(chu)電(dian)流(liu)控(kong)製(zhi)點(dian),依(yi)據(ju)此(ci)信(xin)號(hao),對(dui)發(fa)電(dian)機(ji)的(de)輸(shu)出(chu)電(dian)流(liu)加(jia)以(yi)限(xian)製(zhi),避(bi)免(mian)發(fa)電(dian)機(ji)因(yin)輸(shu)出(chu)功(gong)率(lv)過(guo)高(gao)而(er)發(fa)生(sheng)故(gu)障(zhang)或(huo)損(sun)壞(huai),從(cong)而(er)保(bao)證(zheng)發(fa)電(dian)係(xi)統(tong)正(zheng)常(chang)工(gong)作(zuo)。
圖3 CHB-300S傳感器的應用

5 結語
該gai傳chuan感gan器qi能neng夠gou滿man足zu車che用yong發fa電dian係xi統tong對dui電dian流liu檢jian測ce的de技ji術shu要yao求qiu,已yi在zai多duo套tao地di麵mian車che輛liang的de發fa電dian係xi統tong中zhong應ying用yong,並bing按an相xiang關guan標biao準zhun進jin行xing了le實shi驗yan測ce試shi,測ce試shi結jie果guo受shou到dao專zhuan家jia的de肯ken定ding。
特別推薦
- 噪聲中提取真值!瑞盟科技推出MSA2240電流檢測芯片賦能多元高端測量場景
- 10MHz高頻運行!氮矽科技發布集成驅動GaN芯片,助力電源能效再攀新高
- 失真度僅0.002%!力芯微推出超低內阻、超低失真4PST模擬開關
- 一“芯”雙電!聖邦微電子發布雙輸出電源芯片,簡化AFE與音頻設計
- 一機適配萬端:金升陽推出1200W可編程電源,賦能高端裝備製造
技術文章更多>>
- 博世半導體亮相北京車展:以技術創新驅動智能出行
- 超低功耗微控製器模塊為工程師帶來新的機遇——第1部分:Eclipse項目設置
- 英偉達吳新宙北京車展解讀:以五層架構與開放生態,加速汽車駛向L4
- 三星上演罕見對峙:工會集會討薪,股東隔街抗議
- 摩爾線程實現DeepSeek-V4“Day-0”支持,國產GPU適配再提速
技術白皮書下載更多>>
- 車規與基於V2X的車輛協同主動避撞技術展望
- 數字隔離助力新能源汽車安全隔離的新挑戰
- 汽車模塊拋負載的解決方案
- 車用連接器的安全創新應用
- Melexis Actuators Business Unit
- Position / Current Sensors - Triaxis Hall
熱門搜索
電纜連接器
電力電子
電力繼電器
電力線通信
電流保險絲
電流表
電流傳感器
電流互感器
電路保護
電路圖
電路圖符號
電路圖知識
電腦OA
電腦電源
電腦自動斷電
電能表接線
電容觸控屏
電容器
電容器單位
電容器公式
電聲器件
電位器
電位器接法
電壓表
電壓傳感器
電壓互感器
電源變壓器
電源風扇
電源管理
電源管理IC

